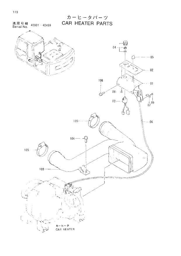
Запчасти Hitachi EX120-3 119 CAR HEATER PARTS. 01UPPERSTRUCTURE

Схема запчастей Hitachi EX120-3 - 119 CAR HEATER PARTS. 01UPPERSTRUCTURE
FIT
1:1
100%

Артикул

Название

Примечание

Количество

01

4295523

* BRACKET

1шт.

01-09

4266753

CONTROLLER ASS'Y

1шт.

02

4295524

* PANEL;CONTROL

Y

1шт.

03

4295525

* SWITCH

Y

1шт.

04

4295528

* KNOB

T

1шт.

04

4295528

* KNOB

T

1шт.

04

4295528

* KNOB

T

1шт.

04

4295528

* KNOB

T

1шт.

05

4295529

* KNOB

Y

1шт.

06

4295530

* WIRE

Y

1шт.

07

4295531

* CLAMP

Y

1шт.

08

4296801

* SCREW

4шт.

09

J460412

* SCREW;SEMS

I

1шт.

103

4263177

DUCT;HEATER

1шт.

104

J021030

BOLT;SEMS

3шт.

105

4504491

CLAMP;HOSE

2шт.

106

J010820

BOLT;SEMS

2шт.

Выбрано товаров: 17