Запчасти Hitachi EX200H-3 065 FC VALVE. 03VALVE

Схема запчастей Hitachi EX200H-3 - 065 FC VALVE. 03VALVE
FIT
1:1
100%

Артикул

Название

Примечание

Количество

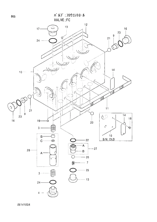
4325812

VALVE;FC

078001 -

1шт.

3

0309801

* SPRING

8шт.

4

0309802

* PLUG

4шт.

7

0309803

* SPRING

4шт.

9

0614101

* SEAT

3шт.

10

+++++++

* BODY

-79740

1шт.

10

+++++++

* BODY

-79841

1шт.

10

+++++++

* BODY

079741 -

1шт.

10

+++++++

* BODY

079842 -

1шт.

11

0614102

* SEAL

1шт.

12

0614103

* SEAL

1шт.

13

0309804

* PLUG

4шт.

14

+++++++

* NAME-PLATE

079741 -

1шт.

14

+++++++

* NAME-PLATE

079842 -

1шт.

14

0420504

* NAME-PLATE

-79740

1шт.

14

0420504

* NAME-PLATE

-79841

1шт.

16

0314205

* PLUG

3шт.

17

0309805

* PLUG

4шт.

18

0208717

* SCREW

-79740

2шт.

18

0208717

* SCREW

-79841

2шт.

19

4179573

* BALL;STEEL

7шт.

20

0259914

* BALL;STEEL

8шт.

21

0253304

* BALL;STEEL

3шт.

22

4506409

* O-RING

4шт.

23

957366

* O-RING

3шт.

24

4509180

* O-RING

8шт.

25

0228803

* O-RING

4шт.

27

0309810

* FILTER ASS'Y

4шт.

27A

+++++++

** FILTER

1шт.

27B

+++++++

** SLEEVE

1шт.

28

0309807

* PLUNGER;SUB-ASS'Y

079842 -

4шт.

28

0309807

* PLUNGER;SUB-ASS'Y

079893 -

4шт.

28

0333805

* PLUNGER;SUB-ASS'Y

-79841

4шт.

28

0333805

* PLUNGER;SUB-ASS'Y

I -79892

4шт.

28A

+++++++

** PLUNGER

1шт.

28B

+++++++

** RING

1шт.

28C

+++++++

** ORIFICE

1шт.

Выбрано товаров: 37