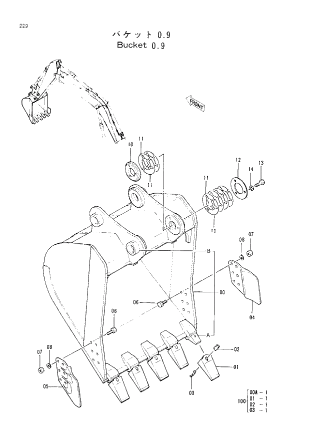
Запчасти Hitachi EX200LC-2 229 BUCKET (0.9) (008001 -). 03 FRONT

Схема запчастей Hitachi EX200LC-2 - 229 BUCKET (0.9) (008001 -). 03 FRONT
FIT
1:1
100%

Артикул

Название

Примечание

Количество

9103325

BUCKET ASS'Y

1шт.

0

8050874

* BUCKET

1шт.

00A

4187941

** ADAPTER;TOOTH

5шт.

00B

4067720

** STOPPER

2шт.

1

4326644

* POINT;TOOTH

D95/01 -

5шт.

1

4512365

* POINT;TOOTH

Y 0

5шт.

2

4319920

* RUBBER;LOCK

5шт.

2

4501625

* RUBBER;LOCK

Y

5шт.

3

4326646

* PIN;LOCK

D95/01 -

5шт.

3

4512366

* PIN;LOCK

Y 0

5шт.

4

2021232

* CUTTER;SIDE

1шт.

5

2021233

* CUTTER;SIDE

1шт.

6

J932275

* BOLT

12шт.

7

J951022

* NUT

12шт.

8

A590922

* WASHER;SPRING

12шт.

10

4273780

* BOSS

1шт.

11

4275784

* SHIM 1.0

14шт.

12

4275783

* PLATE

1шт.

13

J901485

* BOLT

3шт.

14

A590914

* WASHER;SPRING

3шт.

100

9075611

KIT;POINT

5шт.

Выбрано товаров: 21