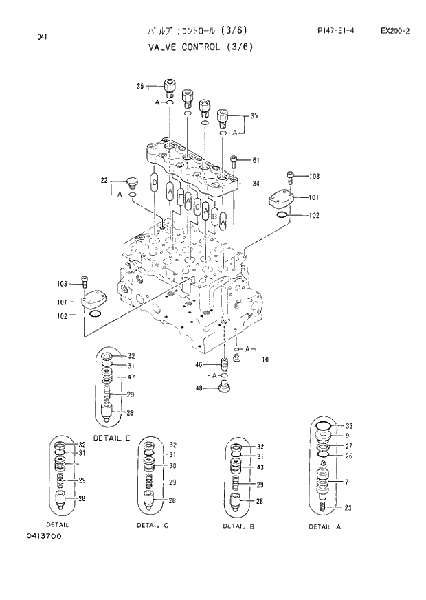
Запчасти Hitachi EX200LC-2 041 CONTROL VALVE (3-6) (060001 -). 03 VALVE

Схема запчастей Hitachi EX200LC-2 - 041 CONTROL VALVE (3-6) (060001 -). 03 VALVE
FIT
1:1
100%

Артикул

Название

Примечание

Количество

4254673

VALVE;CONTROL (3/6)

1шт.

7

+++++++

* SPOOL

4шт.

9

+++++++

* COLLAR

4шт.

10

413504

* PLUG ASS'Y

14шт.

10A

4506408

** O-RING

1шт.

22

289505

* PLUG ASS'Y

1шт.

22A

4506418

** O-RING

1шт.

23

413701

* SPRING

4шт.

26

970486

* O-RING

4шт.

27

413605

* RING;BACK-UP

4шт.

28

413702

* POPPET

4шт.

29

413703

* SPRING

4шт.

30

413704

* PLUG

1шт.

31

953610

* O-RING

4шт.

32

413705

* RING;BACK-UP

4шт.

33

953758

* O-RING

4шт.

34

413706

* FLANGE

1шт.

35

413707

* PLUG ASS'Y

4шт.

35A

4509180

** O-RING

1шт.

42

413708

* PLUG

1шт.

43

413709

* PLUG

1шт.

46

413710

* SHUTTLE ASS'Y

5шт.

47

413704

* PLUG

I 0

1шт.

47

413708

* PLUG

D90/12 -

1шт.

48

413711

* PLUG ASS'Y

5шт.

48A

4509180

** O-RING

1шт.

61

413612

* BOLT;SOCKET

10шт.

101

413712

* CAP

2шт.

102

224422

* O-RING

2шт.

103

413619

* BOLT;SOCKET

8шт.

Выбрано товаров: 30