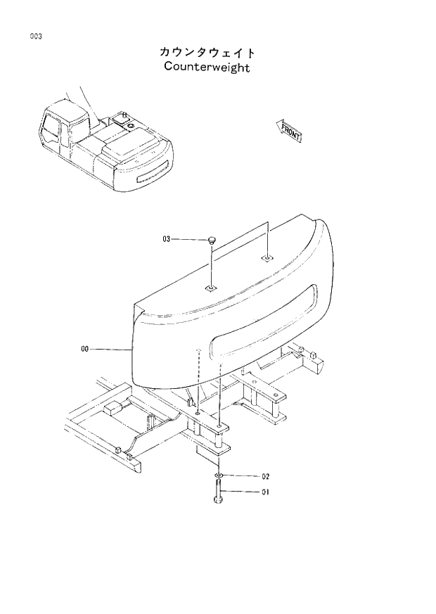
Запчасти Hitachi EX220-2 003 COUNTER WEIGHT (008001 -). 01 UPPERSTRUCTURE

Схема запчастей Hitachi EX220-2 - 003 COUNTER WEIGHT (008001 -). 01 UPPERSTRUCTURE
FIT
1:1
100%

Артикул

Название

Примечание

Количество

0

5003383

WEIGHT;COUNTER

1шт.

1

J833030

BOLT

4шт.

2

4174859

WASHER

4шт.

3

4168132

CAP

2шт.

Выбрано товаров: 4