Запчасти Hitachi EX220-2 109 BOOM CYLINDER (R) (008001 -). 04 CYLINDER

Схема запчастей Hitachi EX220-2 - 109 BOOM CYLINDER (R) (008001 -). 04 CYLINDER
FIT
1:1
100%

Артикул

Название

Примечание

Количество

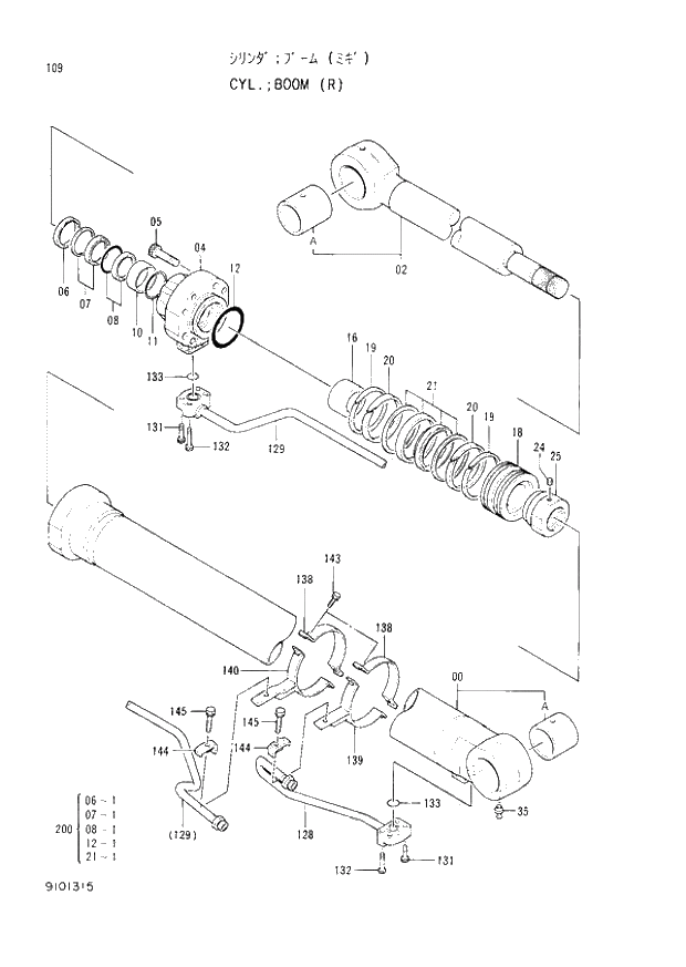
9101315

CYL.;BOOM (R)

1шт.

00-35

9103460

* CYL. (PIPELESS)

1шт.

0

7021847

** TUBE;CYL. ASS'Y

I

1шт.

0

9121232

** TUBE;CYL. ASS'Y

1шт.

00A

3054062

*** BUSHING

1шт.

2

7021845

** ROD;PISTON ASS'Y

1шт.

02A

3054062

*** BUSHING

1шт.

4

1014533

** HEAD;CYL.

1шт.

5

M342280

** BOLT;SOCKET

8шт.

6

4124849

** SEAL;DUST

-9029

1шт.

6

4124849

** SEAL;DUST

009031 -

1шт.

6

4348202

** SEAL;DUST

1шт.

7

4168226

** SEAL

1шт.

8

4253560

** RING

1шт.

10

4272961

** BUSHING

1шт.

11

4264983

** RING;RETAINING

1шт.

12

4253563

** O-RING

1шт.

16

4253566

** RING;CUSHION

1шт.

18

3050116

** PISTON

1шт.

19

4168234

** RING;TEFLON

2шт.

20

4253562

** RING;WEAR

2шт.

21

4124860

** RING;SEAL

1шт.

24

4201805

** SCREW;SET

1шт.

25

3050115

** NUT

1шт.

35

J75481

** FITTING;GREASE

1шт.

128

8046949

* PIPE

1шт.

129

8046953

* PIPE

1шт.

131

M341245

* BOLT;SOCKET

4шт.

132

M341260

* BOLT;SOCKET

4шт.

133

A811035

* O-RING

2шт.

138

3050114

* CLAMP

2шт.

139

8046948

* CLAMP

1шт.

140

8052651

* CLAMP

1шт.

143

J011035

* BOLT;SEMS

4шт.

144

4053595

* CLAMP;PIPE

2шт.

145

J011265

* BOLT

2шт.

200

9103842

KIT;SEAL

-9029

1шт.

200

9103842

KIT;SEAL

009031 -

1шт.

200

9144507

KIT;SEAL

1шт.

Выбрано товаров: 39