Запчасти Hitachi EX220-2 119 BUCKET CYLINDER (008001 -). 04 CYLINDER

Схема запчастей Hitachi EX220-2 - 119 BUCKET CYLINDER (008001 -). 04 CYLINDER
FIT
1:1
100%

Артикул

Название

Примечание

Количество

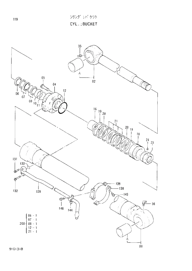
9101318

CYL.;BUCKET

1шт.

00-36

9103462

* CYL. (PIPELESS)

1шт.

0

7021848

** TUBE;CYL. ASS'Y

I

1шт.

0

9121234

** TUBE;CYL. ASS'Y

1шт.

00A

3031788

*** BUSHING

1шт.

2

7021846

** ROD;PISTON ASS'Y

1шт.

02A

3031789

*** BUSHING

1шт.

4

1014534

** HEAD;CYL.

1шт.

5

M342280

** BOLT;SOCKET

8шт.

6

4124848

** SEAL;DUST

1шт.

7

4253559

** SEAL

1шт.

8

4253561

** RING

1шт.

10

4272960

** BUSHING

1шт.

11

4272974

** RING;RETAINING

1шт.

12

4253563

** O-RING

1шт.

16

4253558

** RING;CUSHION

1шт.

18

3050116

** PISTON

1шт.

19

4168234

** RING;TEFLON

2шт.

20

4253562

** RING;WEAR

2шт.

21

4124860

** RING;SEAL

1шт.

24

4201805

** SCREW;SET

1шт.

25

3050115

** NUT

1шт.

35

J75481

** FITTING;GREASE

1шт.

36

J75581

** FITTING;GREASE

1шт.

128

8046951

* PIPE

1шт.

131

M341245

* BOLT;SOCKET

2шт.

132

M341260

* BOLT;SOCKET

2шт.

133

A811035

* O-RING

1шт.

138

3050114

* CLAMP

1шт.

139

8046957

* CLAMP

1шт.

143

J011035

* BOLT;SEMS

2шт.

144

4194152

* CLAMP;PIPE

1шт.

146

J011025

* BOLT;SEMS

2шт.

200

9103844

KIT;SEAL

1шт.

Выбрано товаров: 34