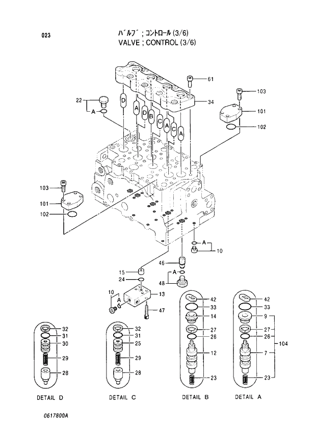
Запчасти Hitachi EX220-3 023 CONTROL VALVE (3-6). 03VALVE

Схема запчастей Hitachi EX220-3 - 023 CONTROL VALVE (3-6). 03VALVE
FIT
1:1
100%

Артикул

Название

Примечание

Количество

4327619

VALVE;CONTROL (3/6)

1шт.

7

+++++++

* SPOOL

3шт.

9

+++++++

* COLLAR

3шт.

10

0413504

* PLUG ASS'Y

15шт.

10A

4506408

** O-RING

1шт.

12

+++++++

* SPOOL

1шт.

13

0617201

* FLANGE

1шт.

14

+++++++

* COLLAR

1шт.

15

0617202

* SPACER

1шт.

22

0289505

* PLUG ASS'Y

1шт.

22A

4506418

* O-RING

1шт.

23

0413701

* SPRING

4шт.

24

4506418

* O-RING

1шт.

25

0413708

* PLUG

2шт.

26

970486

* O-RING

4шт.

27

0413605

* RING;BACK-UP

4шт.

28

0617203

* POPPET

4шт.

29

0413703

* SPRING

4шт.

30

0617204

* PLUG

2шт.

31

953610

* O-RING

4шт.

32

0413705

* RING;BACK-UP

4шт.

33

953758

* O-RING

4шт.

34

0617205

* FLANGE

1шт.

42

0617206

* SPACER

4шт.

46

0617207

* SHUTTLE

5шт.

47

0617208

* BOLT;SOCKET

4шт.

48

0413711

* PLUG ASS'Y

4шт.

48A

4509180

** O-RING

1шт.

61

0413612

* BOLT;SOCKET

10шт.

101

0413712

* CAP

2шт.

102

0224422

* O-RING

2шт.

103

0413619

* BOLT;SOCKET

8шт.

104

4387014

* SPOOL

3шт.

Выбрано товаров: 33