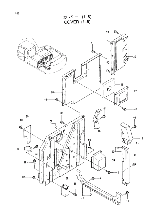
Запчасти Hitachi EX220LC-3 187 COVER (1-5). 01UPPERSTRUCTURE

Схема запчастей Hitachi EX220LC-3 - 187 COVER (1-5). 01UPPERSTRUCTURE
FIT
1:1
100%

Артикул

Название

Примечание

Количество

01

6011947

COVER

1шт.

01A

4327218

* RUBBER

1шт.

02

4257087

STOPPER

1шт.

03

J031030

BOLT;SEMS

2шт.

08

J021030

BOLT;SEMS

4шт.

10

J031230

BOLT;SEMS

2шт.

18

8050194

COVER

1шт.

18A

4323329

* RUBBER

1шт.

19

8050195

COVER

1шт.

19A

4327217

* RUBBER

1шт.

22

8050193

COVER

1шт.

22A

4322965

* RUBBER

1шт.

26

8051121

COVER

1шт.

27

2031299

COVER

1шт.

28

4262125

RUBBER

1шт.

29

4261902

PLATE

1шт.

30

7027589

COVER

1шт.

34

7028524

COVER

1шт.

40

J021030

BOLT;SEMS

16шт.

41

J031025

BOLT;SEMS

8шт.

42

J010814

BOLT;SEMS

2шт.

75

8054451

COVER

1шт.

75A

4320430

* RUBBER

1шт.

88

8051479

HOLDER

1шт.

89

J021025

BOLT;SEMS

2шт.

Выбрано товаров: 25