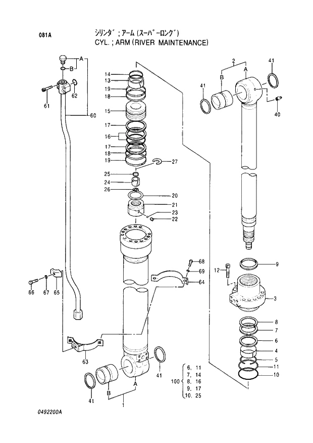
Запчасти Hitachi EX220LC-3 081 ARM CYLINDER RIVER MAINTENANCE. 04CYLINDER

Схема запчастей Hitachi EX220LC-3 - 081 ARM CYLINDER RIVER MAINTENANCE. 04CYLINDER
FIT
1:1
100%

Артикул

Название

Примечание

Количество

4308225

CYL.;ARM

1шт.

1-41

4322741

* CYL.(PIPELESS)

1шт.

1

4322742

** TUBE;CYL. ASS'Y

1шт.

1A

0492201

*** TUBE;CYL.

1шт.

1B

0237404

*** BUSHING;PIN

1шт.

2

4322743

** ROD;PISTON ASS'Y

1шт.

2A

0492202

*** ROD;PISTON

1шт.

2B

0237404

*** BUSHING;PIN

1шт.

3

0492203

** HEAD;CYL.

1шт.

4

0373405

** BUSHING

1шт.

5

0237205

** RING

1шт.

6

0492204

** RING

1шт.

7

0127408

** PACKING;U-RING

1шт.

8

0237215

** RING;BACK-UP

1шт.

9

0237216

** RING;WIPER

I 0

1шт.

9

0492216

** RING;WIPER

D95/06 -

1шт.

10

A811140

** O-RING

1шт.

11

0212505

** RING;BACK-UP

1шт.

12

0482711

** BOLT;SOCKET

12шт.

13

0492205

** BRG.;CUSHION

1шт.

14

0492206

** SEAL

1шт.

15

0492207

** PISTON

Y 0

1шт.

15

0492217

** PISTON

D95/06 -

1шт.

16

0373411

** RING;SEAL

1шт.

17

0492208

** RING;BACK-UP

2шт.

18

0492209

** RING

2шт.

19

0373413

** RING

2шт.

20

0373414

** SHIM

1шт.

21

0373415

** NUT

1шт.

22

0352715

** SCREW;SET

1шт.

23

0104404

** BALL

1шт.

24

0492210

** BRG.;CUSHION

1шт.

25

0492211

** SEAL

1шт.

26

0492212

** STOPPER

2шт.

27

0492213

** RING;RETAINING

1шт.

40

J75481

** FITTING;GREASE

1шт.

41

4067901

** SEAL;DUST

4шт.

60

0492214

* PIPE

1шт.

60A

4113926

** PLUG

1шт.

60B

4506429

** O-RING

1шт.

61

0309020

* BOLT;SOCKET

4шт.

62

984614

* O-RING

1шт.

63

0492215

* BAND

1шт.

64

0387311

* BAND

1шт.

65

0309219

* CLAMP;PIPE

1шт.

66

0237417

* BOLT

2шт.

67

0208516

* WASHER;SPRING

2шт.

68

0408815

* BOLT

1шт.

69

0325913

* WASHER

1шт.

100

4322730

KIT;SEAL

I 0

1шт.

100

4369943

KIT;SEAL

D95/06 -

1шт.

Выбрано товаров: 51