Запчасти Hitachi EX300-3C 027 PILOT VALVE. 03 VALVE

Схема запчастей Hitachi EX300-3C - 027 PILOT VALVE. 03 VALVE
FIT
1:1
100%

Артикул

Название

Примечание

Количество

(9149235)

VALVE;PILOT

1шт.

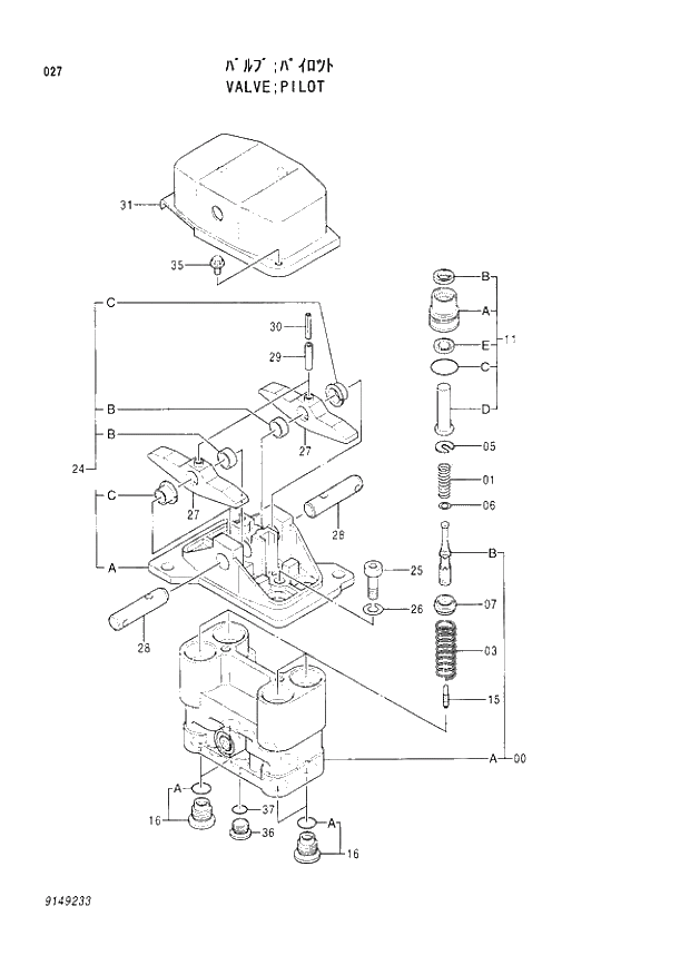
9149233

VALVE;PILOT

I

1шт.

00

7024389

* CASING

1шт.

00A

+++++++

** CASING

1шт.

00B

+++++++

** SPOOL

4шт.

01

4203421

* SPRING;COMPRES.

4шт.

03

4203413

* SPRING;COMPRES.

4шт.

05

4177777

* SPACER

4шт.

06

4173208

* SHIM

20шт.

07

4203412

* GUIDE;SPRING

4шт.

11

9134018

* PUSHER ASS'Y

4шт.

11A

3074897

** BUSHING

1шт.

11B

4276152

** SEAL;OIL

1шт.

11C

A810025

** O-RING

1шт.

11D

3051566

** PUSHER

1шт.

11E

4352707

** RING

1шт.

15

4184929

* PISTON

4шт.

16

9102507

* PLUG

4шт.

16A

4278942

** O-RING

1шт.

24

9101522

* HOLDER ASS'Y

1шт.

24A

2030139

** HOLDER

1шт.

24B

4238834

** BUSHING

2шт.

24C

4274716

** BUSHING

2шт.

25

J781030

* BOLT;SOCKET

2шт.

26

A590910

* WASHER;SPRING

2шт.

27

3035803

* CAM

2шт.

28

4190983

* PIN

2шт.

29

4027427

* PIN;SPRING

2шт.

30

4213419

* PIN;SPRING

2шт.

31

2031724

* COVER

1шт.

35

J020612

* BOLT;SEMS

2шт.

36

4208977

* PLUG

2шт.

37

964255

* O-RING

2шт.

Выбрано товаров: 33