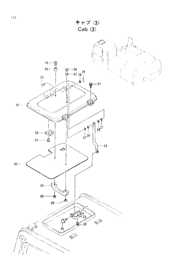
Запчасти Hitachi EX300H-2 155 CAB (3) (005001 -). 01 UPPERSTRUCTURE

Схема запчастей Hitachi EX300H-2 - 155 CAB (3) (005001 -). 01 UPPERSTRUCTURE
FIT
1:1
100%

Артикул

Название

Примечание

Количество

1

4316890

* COVER

1шт.

01.10.12

4320161

ROOF ASS'Y

1шт.

2

4320162

* TRIM;PAD

1шт.

3

4204578

* LOCK

1шт.

4

J460516

* SCREW;SEMS

4шт.

5

4204579

* HANDLE

1шт.

6

4204580

* STOPPER

1шт.

7

4204581

* RUBBER

1шт.

8

M500504

* NUT

2шт.

9

4316892

* CUSHION

1шт.

10

M430530

* SCREW

1шт.

21

4295487

BOLT;SEMS

4шт.

23

4239989

BRACKET

1шт.

24

4239990

STAY

1шт.

25

4239991

RIVET

1шт.

26

4022696

PIN;LOCK

1шт.

27

4239992

WASHER

2шт.

28

A590106

WASHER;PLANE

3шт.

29

J020816

BOLT;SEMS

2шт.

30

4239993

KNOB

1шт.

Выбрано товаров: 20