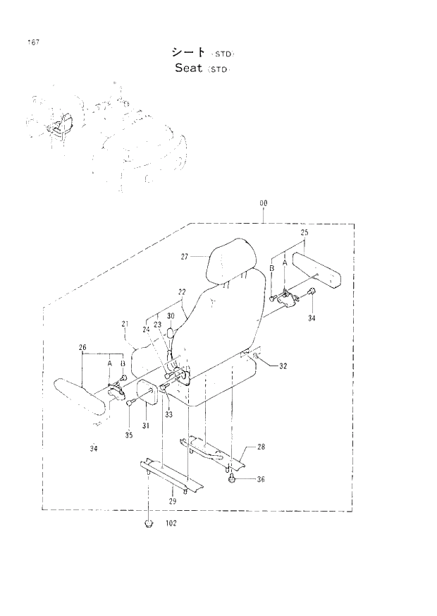
Запчасти Hitachi EX300H-2 167 SEAT (STD) (005001 -). 01 UPPERSTRUCTURE

Схема запчастей Hitachi EX300H-2 - 167 SEAT (STD) (005001 -). 01 UPPERSTRUCTURE
FIT
1:1
100%

Артикул

Название

Примечание

Количество

0

4276535

SEAT ASS'Y

1шт.

21

4282807

* CUSHION;SEAT

1шт.

22

4282814

* SEAT;BACK

1шт.

23

4222852

** DEVICE

1шт.

24

4222853

** BOLT

2шт.

25

4310083

* REST;ARM (RH)

1шт.

25A

4310085

** LINK (R)

1шт.

25B

4280530

** SCREW

2шт.

26

4310082

* REST;ARM (LH)

1шт.

26A

4310084

** LINK (L)

1шт.

26B

4280530

** SCREW

2шт.

27

4282811

* REST;HEAD

1шт.

28

4282809

* SLIDE (RH)

1шт.

29

4282808

* SLIDE (LH)

1шт.

30

4282805

* DIVICE;KNOB

1шт.

31

4282810

* DEVICE;COVER

1шт.

32

4222861

* PROTECTOR

1шт.

33

4222853

* BOLT

2шт.

34

4222863

* BOLT

4шт.

35

4273197

* SCREW

1шт.

36

4222865

* BOLT

4шт.

102

M669008

NUT;C-SW

4шт.

Выбрано товаров: 22