Запчасти Hitachi EX300H-3 165 CAB (6) (007001 -). 01 UPPERSTRUCTURE

Схема запчастей Hitachi EX300H-3 - 165 CAB (6) (007001 -). 01 UPPERSTRUCTURE
FIT
1:1
100%

Артикул

Название

Примечание

Количество

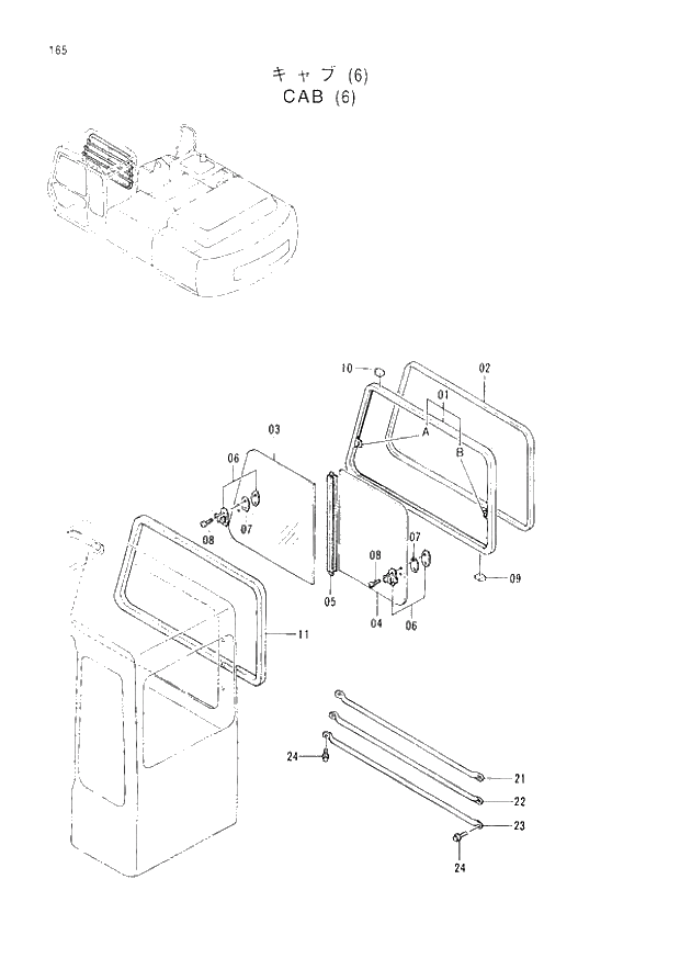
1

4295614

* SASH

1шт.

1

4304835

* SASH

1шт.

01.11.12

4289524

RIGHT SASH ASS'Y

1шт.

01.11.12

4304830

RIGHT SASH ASS'Y

1шт.

01A

4295622

** CATCH

1шт.

01B

4147893

** CATCH

1шт.

2

4295623

* GLASS-RUN

1шт.

3

4289525

* GLASS

1шт.

4

4289526

* GLASS

1шт.

5

4295626

* RUBBER

1шт.

6

4295610

* LOCK

2шт.

7

4295611

* SPACER

2шт.

8

4219753

* SCREW

4шт.

9

4147896

* SPACER

9шт.

10

4204567

* SPACER

3шт.

11

4295627

* RUBBER

1шт.

21

4295628

GUARD

1шт.

22

4295629

GUARD

1шт.

23

4295633

GUARD

1шт.

24

4320170

BOLT;SEMS

6шт.

Выбрано товаров: 20