Запчасти Hitachi EX350LCK-5 067 ARM CYLINDER 04 CYLINDER

Схема запчастей Hitachi EX350LCK-5 - 067 ARM CYLINDER 04 CYLINDER
FIT
1:1
100%

Артикул

Название

Примечание

Количество

(9193145)

CYL.;ARM

1шт.

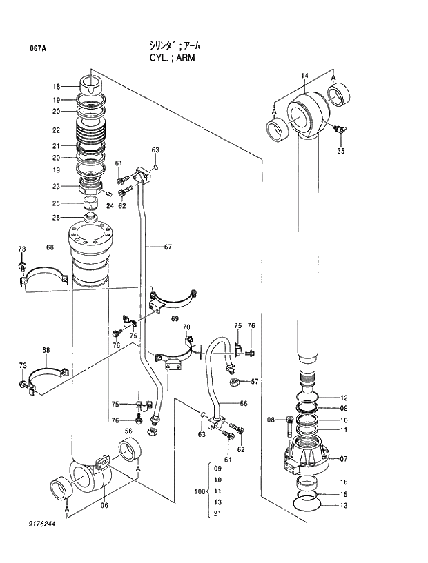
9176244

CYL.;ARM

I

1шт.

06-35

(9195062)

* CYL.(PIPELESS)<for transportation>

1шт.

06-35

9195060

* CYL.(PIPELESS)<for assembly of machine>

I

1шт.

06

(9195078)

** TUBE;CYL.

1шт.

06

7033776

** TUBE;CYL.

I

1шт.

06A

4381859

*** BUSHING

2шт.

07

1025101

** HEAD;CYL.

1шт.

08

M342700

** BOLT;SOCKET

8шт.

09

4370927

** SEAL;DUST

1шт.

10

4411659

** SEAL

1шт.

11

4411656

** RING

1шт.

12

4370058

** RING;RETAINING

1шт.

13

4393350

** O-RING

1шт.

14

7033936

** ROD;PISTON

1шт.

14A

4381859

*** BUSHING

2шт.

15

4372816

** RING;RETAINING

1шт.

16

4370337

** BUSHING

1шт.

18

2041632

** RING;CUSHION

1шт.

19

4370063

** RING;TEFLON

2шт.

20

4370064

** RING;WEAR

2шт.

21

4370062

** RING;SEAL

1шт.

22

3080654

** PISTON

1шт.

23

3062096

** NUT

1шт.

24

4201806

** SCREW;SET

1шт.

25

3079648

** RING;CUSHION

1шт.

26

4387203

** PLUG

1шт.

35

J75581

** FITTING;GREASE

1шт.

56

4260204

* CAP

1шт.

57

4260205

* CAP

1шт.

61

M341245

* BOLT;SOCKET

4шт.

62

M341260

* BOLT;SOCKET

4шт.

63

A811035

* O-RING

2шт.

66

8070112

* PIPE

1шт.

67

8070113

* PIPE

1шт.

68

3080222

* CLAMP

2шт.

69

8068103

* CLAMP

1шт.

70

8068102

* CLAMP

1шт.

73

J011035

* BOLT;SEMS

4шт.

75

4174241

* CLAMP;PIPE

3шт.

76

J011025

* BOLT;SEMS

6шт.

100

9180582

KIT;SEAL

1шт.

Выбрано товаров: 42