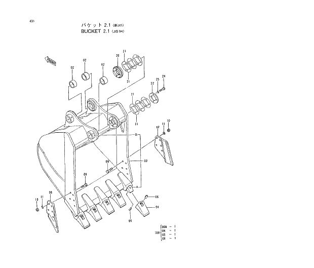
Запчасти Hitachi EX400-5 431 BUCKET 2.1 JIS94 03 BACKHOE ATTACHMENTS

Схема запчастей Hitachi EX400-5 - 431 BUCKET 2.1 JIS94 03 BACKHOE ATTACHMENTS
FIT
1:1
100%

Артикул

Название

Примечание

Количество

9120492

BUCKET ASS'Y

1шт.

00

5003870

* BUCKET

1шт.

00A

4153602

** ADAPTER

5шт.

00B

4271095

** STOPPER

2шт.

02

4205109

* BUSHING

3шт.

04

4153603

* POINT;TOOTH

5шт.

05

968489

* PIN;LOCK

5шт.

06

968490

* RUBBER;LOCK

5шт.

07

1010517

* CUTTER;SIDE

1шт.

08

1010518

* CUTTER;SIDE

1шт.

09

J932785

* BOLT

10шт.

10

J951027

* NUT

10шт.

11

A590927

* WASHER;SPRING

10шт.

20

3058633

* BOSS

1шт.

21

4286749

* SHIM

12шт.

22

4295220

* PLATE

1шт.

24

J901602

* BOLT

4шт.

25

A590916

* WASHER;SPRING

4шт.

100

9086279

KIT;POINT

5шт.

Выбрано товаров: 19