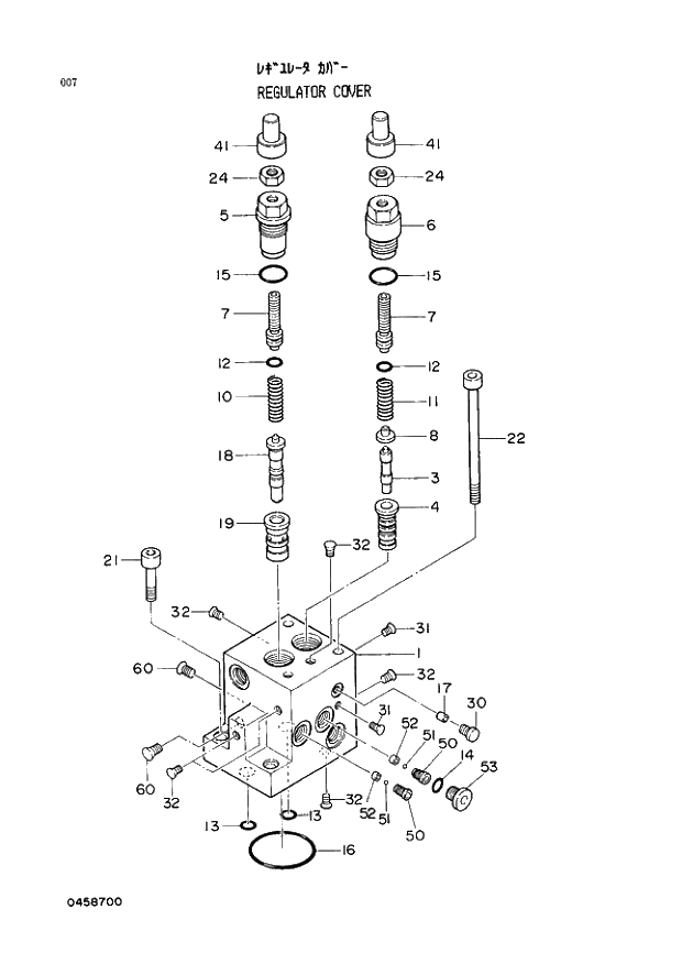
Запчасти Hitachi EX400 тип А 007 REGULATOR COVER 01 PUMP

Схема запчастей Hitachi EX400 тип А - 007 REGULATOR COVER 01 PUMP
FIT
1:1
100%

Артикул

Название

Примечание

Количество

4306731

REGULATOR COVER

1шт.

1

+++++++

* COVER

1шт.

3

+++++++

* SPOOL

1шт.

4

+++++++

* BUSHING

1шт.

5

0349901

* GUIDE

1шт.

6

0349902

* GUIDE

1шт.

7

0349903

* SCREW;ADJUSTING

2шт.

8

0215207

* RETAINER

1шт.

10

0349904

* SPRING

1шт.

11

0215214

* SPRING

1шт.

12

0458701

* O-RING

2шт.

13

0458603

* O-RING

2шт.

14

A813011

* O-RING

1шт.

15

0458702

* O-RING

2шт.

16

0458703

* O-RING

1шт.

17

0281302

* ORIFICE

1шт.

18

+++++++

* SPOOL

1шт.

19

+++++++

* BUSHING

1шт.

21

0349907

* BOLT;SOCKET

2шт.

22

0349908

* BOLT;SOCKET

2шт.

24

0349909

* NUT

2шт.

30

0215015

* PLUG

1шт.

31

+++++++

* PLUG

1шт.

32

+++++++

* PLUG

3шт.

41

0231207

* CAP

2шт.

50

0215209

* PLUG

2шт.

51

0215223

* BALL;STEEL

2шт.

52

0215210

* GUIDE

2шт.

53

0215221

* PLUG

1шт.

60

+++++++

* PLUG

1шт.

Выбрано товаров: 30