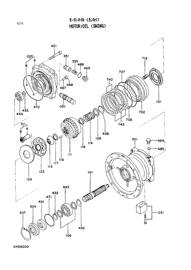
Запчасти Hitachi EX400 тип А 017 MOTOR;OIL (SWING) 02 MOTOR;OIL

Схема запчастей Hitachi EX400 тип А - 017 MOTOR;OIL (SWING) 02 MOTOR;OIL
FIT
1:1
100%

Артикул

Название

Примечание

Количество

4278355

MOTOR;OIL

1шт.

011

0365301

* PISTON SUB

9шт.

011A

+++++++

** PISTON

1шт.

011B

+++++++

** SHOE

1шт.

020

0459201

* CASING SUB

1шт.

020A

+++++++

** CASING

1шт.

020B

+++++++

** PIN

2шт.

031

0459202

* VALVE SUB

1шт.

051

0459203

* VALVE;RELIEF

2шт.

101

0365305

* SHAFT

1шт.

106

0459204

* SPACER

1шт.

111

0365307

* CYL.

1шт.

113

0365308

* BUSHING

1шт.

114

0365309

* SPRING

1шт.

116

0365310

* ROD;PUSH

12шт.

117

0365311

* SPACER

1шт.

118

0365312

* SPACER

1шт.

123

0365313

* PLATE

1шт.

124

0365314

* PLATE

1шт.

131

0365315

* PLATE

1шт.

301

0401201

* CASING

1шт.

304

0365317

* COVER

1шт.

351

0236006

* PLUNGER

2шт.

355

0236009

* SPRING

2шт.

401

0365318

* BOLT;SOCKET

4шт.

432

959499

* RING;RETAINING

2шт.

433

942517

* RING;RETAINING

1шт.

437

959502

* RING;RETAINING

1шт.

438

4069898

* RING;RETAINING

1шт.

443

0365323

* BRG.

1шт.

444

0365324

* BRG.

1шт.

464

0275402

* PLUG

1шт.

468

0275402

* PLUG

2шт.

469

0459205

* PLUG

2шт.

471

0459206

* O-RING

1шт.

472

0459207

* O-RING

1шт.

485

A813011

* O-RING

1шт.

487

A813011

* O-RING

2шт.

488

0459208

* O-RING

2шт.

491

0459209

* SEAL;OIL

1шт.

702

0365329

* PISTON;BRAKE

1шт.

706

0459210

* O-RING

1шт.

707

0459211

* O-RING

1шт.

712

0365331

* SPRING;BRAKE

20шт.

742

0365332

* PLATE

2шт.

743

0365333

* PLATE

3шт.

Выбрано товаров: 46