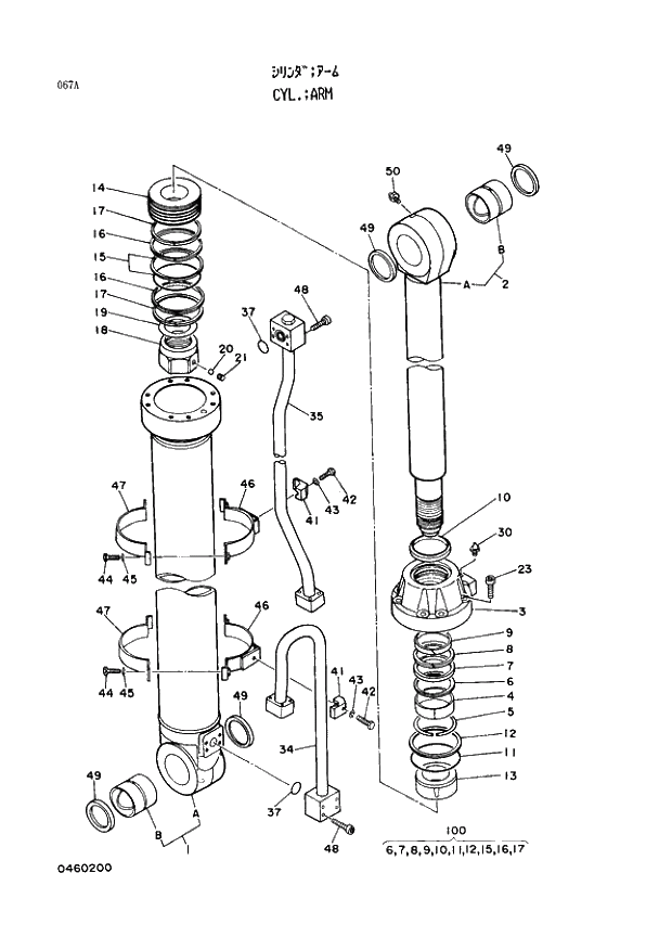
Запчасти Hitachi EX400 тип А 067 CYL.;ARM. 04 CYLINDER

Схема запчастей Hitachi EX400 тип А - 067 CYL.;ARM. 04 CYLINDER
FIT
1:1
100%

Артикул

Название

Примечание

Количество

4278294

CYL.;ARM

1шт.

1-30

4307090

* CYL. (PIPELESS)

1шт.

1

0460201

** TUBE;CYL. ASS'Y

1шт.

1A

+++++++

*** TUBE;CYL.

1шт.

1B

0352722

*** BUSHING;PIN

1шт.

2

0460202

** ROD;PISTON ASS'Y

1шт.

2A

+++++++

*** ROD;PISTON

1шт.

2B

0352722

*** BUSHING;PIN

1шт.

3

0460203

** HEAD;CYL.

1шт.

4

0353004

** BUSHING

1шт.

5

0133709

** RING;RETAINING

1шт.

6

0353005

** RING;SEAL

1шт.

7

0191405

** PACKING;U-RING

1шт.

8

0257005

** RING;BACK-UP

1шт.

9

0417605

** RING;SLIDE

1шт.

10

0257006

** RING;WIPER

1шт.

11

A812180

** O-RING

1шт.

12

0242507

** RING;BACK-UP

1шт.

13

0353007

** BRG.;CUSHION

1шт.

14

0353008

** PISTON

1шт.

15

0242510

** RING;SEAL ASS'Y

1шт.

16

0336808

** RING

2шт.

17

0242512

** RING

2шт.

18

0353009

** NUT

1шт.

19

0353010

** SHIM

1шт.

20

0353011

** BALL;STEEL

1шт.

21

0353012

** SCREW;SET

1шт.

23

0353013

** BOLT;SOCKET

8шт.

30

0237418

** BREEDER;AIR

2шт.

34

0460204

* PIPE

1шт.

35

0460205

* PIPE

1шт.

37

A813042

* O-RING

2шт.

41

0353016

* CLAMP;PIPE

2шт.

42

0254312

* BOLT

2шт.

43

A590914

* WASHER;SPRING

2шт.

44

0408815

* BOLT

4шт.

45

0325913

* WASHER

4шт.

46

0353017

* BAND

2шт.

47

0353018

* BAND

2шт.

48

0353019

* BOLT;SOCKET

8шт.

49

4085479

* SEAL;DUST

1шт.

50

J75481

* FITTING

1шт.

100

4306766

KIT;SEAL

1шт.

Выбрано товаров: 43