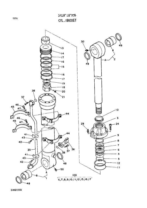
Запчасти Hitachi EX400 тип А 069 CYL.;BUCKET. 04 CYLINDER

Схема запчастей Hitachi EX400 тип А - 069 CYL.;BUCKET. 04 CYLINDER
FIT
1:1
100%

Артикул

Название

Примечание

Количество

4278295

CYL.;BUCKET

1шт.

1-30

4307407

* CYL. (PIPELESS)

1шт.

1

0461101

** TUBE;CYL. ASS'Y

1шт.

1A

+++++++

*** TUBE;CYL.

1шт.

1B

0352905

*** BUSHING;PIN

1шт.

2

0461102

** ROD;PISTON ASS'Y

1шт.

2A

+++++++

*** ROD;PISTON

1шт.

2B

0352722

*** BUSHING;PIN

1шт.

3

0460003

** HEAD;CYL.

1шт.

4

0352704

** BUSHING

1шт.

5

0133103

** RING;RETAINING

1шт.

6

0352705

** RING;SEAL

1шт.

7

0352706

** PACKING;U-RING

1шт.

8

0352707

** RING;BACK-UP

1шт.

9

0460004

** RING;SLIDE

1шт.

10

0352709

** RING;WIPER

1шт.

11

A812160

** O-RING

1шт.

12

4170546

** RING;BACK-UP

1шт.

13

0352710

** BRG.;CUSHION

1шт.

14

0352711

** PISTON

1шт.

15

4170547

** RING;SEAL ASS'Y

1шт.

16

0352712

** RING;SLIDE

2шт.

17

0259307

** RING;SLIDE

2шт.

18

0352713

** NUT

1шт.

19

0352714

** SHIM

1шт.

20

0104404

** BALL

1шт.

21

0352715

** SCREW;SET

1шт.

24

0352716

** BOLT;SOCKET

8шт.

29

0237418

** BREEDER;AIR

2шт.

30

J75481

** FITTING

1шт.

35

0352903

* PIPE

1шт.

36

0352904

* JOINT

1шт.

37

0150616

* BOLT;SOCKET

8шт.

38

A813034

* O-RING

2шт.

41

0309219

* CLAMP;PIPE

2шт.

42

0237417

* BOLT

2шт.

43

0208516

* WASHER;SPRING

2шт.

44

0352719

* BAND

2шт.

45

0352721

* BAND

2шт.

46

0408815

* BOLT

4шт.

47

0325913

* WASHER

4шт.

48

0386902

* SEAL;DUST

2шт.

49

0461103

* SEAL;DUST

2шт.

50

J75482

* FITTING

1шт.

100

4306765

KIT;SEAL

1шт.

Выбрано товаров: 45