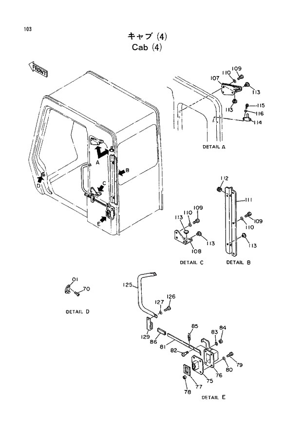
Запчасти Hitachi EX400 тип B 103 CAB (4) 01 UPPERSTRUCTURE

Схема запчастей Hitachi EX400 тип B - 103 CAB (4) 01 UPPERSTRUCTURE
FIT
1:1
100%

Артикул

Название

Примечание

Количество

01

4128473

STRIKER

1шт.

70

4141747

SCREW

2шт.

75

4204588

LOCK

1шт.

76

4204589

COVER

1шт.

77

4204590

RUBBER

1шт.

78

4204591

RUBBER;SEAL

1шт.

79

J900818

BOLT

4шт.

80

A590908

WASHER;SPRING

4шт.

81

4204592

LEVER

1шт.

82

4204593

PIN

1шт.

83

A590906

WASHER;SPRING

1шт.

84

M500605

NUT

1шт.

85

4208103

SPRING

1шт.

86

4089012

CAP

1шт.

107

4204601

BRACKET

1шт.

108

4204602

BRACKET

1шт.

109

J900816

BOLT

7шт.

110

A590908

WASHER;SPRING

7шт.

111

4204603

BRACKET

1шт.

112

4204604

BUSHING;RUBBER

2шт.

113

4204605

RUBBER

6шт.

114

4147924

HOOK

1шт.

115

M430513

SCREW

2шт.

116

A590905

WASHER;SPRING

2шт.

125

4222359

HAND RAIL

1шт.

126

J901025

BOLT

2шт.

127

A590910

WASHER;SPRING

2шт.

129

4215255

STOPPER

1шт.

Выбрано товаров: 28