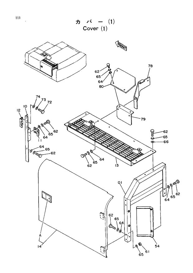
Запчасти Hitachi EX400 тип B 111 COVER (1) 01 UPPERSTRUCTURE

Схема запчастей Hitachi EX400 тип B - 111 COVER (1) 01 UPPERSTRUCTURE
FIT
1:1
100%

Артикул

Название

Примечание

Количество

01

8041388

SUPPORT

1шт.

10

8042722

SUPPORT

1шт.

11

4188492

STOPPER

1шт.

12

3037786

BRACKET

1шт.

13

7020041

STEP

1шт.

14

6012988

DOOR

1шт.

14A

7017862

* DOOR LOCK (1)<for details: see separate

1шт.

54

8043662

COVER

1шт.

61

J950012

NUT

4шт.

62

J901225

BOLT

16шт.

64

A590112

WASHER;PLANE

8шт.

65

A590912

WASHER;SPRING

20шт.

66

449490

WASHER

4шт.

72

J900814

BOLT

2шт.

73

A590908

WASHER;SPRING

2шт.

74

A590108

WASHER;PLANE

2шт.

78

8042781

COVER

1шт.

79

8042782

COVER

1шт.

80

4223622

COVER

1шт.

Выбрано товаров: 19