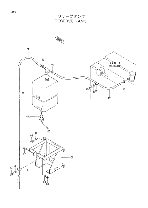
Запчасти Hitachi EX400H-3 013 RESERVE TANK (005001 -). 01 UPPERSTRUCTURE

Схема запчастей Hitachi EX400H-3 - 013 RESERVE TANK (005001 -). 01 UPPERSTRUCTURE
FIT
1:1
100%

Артикул

Название

Примечание

Количество

0

7019986

BRACKET

1шт.

1

4206452

TANK;WATER

1шт.

01A

4237651

* SWITCH;LEVEL

1шт.

01B

4237650

* CAP

I

1шт.

01B

4397775

* CAP

1шт.

2

4282875

BOLT

1шт.

3

M500605

NUT

2шт.

4

J901225

BOLT

4шт.

5

A590912

WASHER;SPRING

4шт.

6

A590108

WASHER;PLANE

1шт.

8

4206453

HOSE;VINYL

1шт.

9

4508575

CLAMP;HOSE

3шт.

10

4190272

CLIP

1шт.

11

4190261

CLIP

1шт.

12

4316348

HOSE;WATER

1шт.

Выбрано товаров: 15