Запчасти Hitachi EX400LC-3 103 CYL. BOOM (R)(LOADER) (005001 -). 04 CYLINDER

Схема запчастей Hitachi EX400LC-3 - 103 CYL. BOOM (R)(LOADER) (005001 -). 04 CYLINDER
FIT
1:1
100%

Артикул

Название

Примечание

Количество

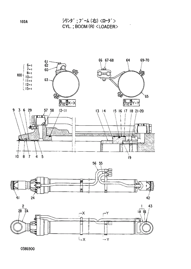
4249748

CYL.;BOOM (R)

1шт.

01.01.43

4256046

* CYL. (PIPELESS)

1шт.

1

352701

** TUBE;CYL. ASS'Y

1шт.

1A

+++++++

*** TUBE;CYL.

1шт.

1B

352722

*** BUSHING;PIN

1шт.

2

352702

** ROD;PISTON ASS'Y

1шт.

2A

+++++++

*** ROD;PISTON

1шт.

2B

352723

*** BUSHING;PIN

1шт.

3

352703

** HEAD;CYL.

1шт.

4

352704

** BUSHING

1шт.

5

133103

** RING;RETAINING

1шт.

6

352705

** RING;SEAL

1шт.

7

352706

** PACKING;U-RING

1шт.

8

352707

** RING;BACK-UP

1шт.

9

352708

** RING;SLIDE

1шт.

10

352709

** RING;WIPER

1шт.

11

A811160

** O-RING

1шт.

12

4170546

** RING;BACK-UP

1шт.

13

352710

** BRG.;CUSHION

1шт.

14

352711

** PISTON

1шт.

15

4170547

** RING;SEAL ASS'Y

1шт.

16

352712

** RING;SLIDE

2шт.

17

259307

** RING;SLIDE

2шт.

18

352713

** NUT

1шт.

19

352714

** SHIM

1шт.

20

104404

** BALL

1шт.

21

352715

** SCREW;SET

1шт.

24

352716

** BOLT;SOCKET

8шт.

29

237418

** BLEEDER;AIR

1шт.

41

386901

** RING;WIPER

2шт.

42

386902

** RING;WIPER

2шт.

43

J75481

** FITTING;GREASE

1шт.

55

386903

* PIPE

1шт.

56

386904

* PIPE

1шт.

57

309020

* BOLT;SOCKET

8шт.

58

984614

* O-RING

2шт.

60

309219

* CLAMP;PIPE

1шт.

61

237417

* BOLT

1шт.

62

208516

* WASHER;SPRING

1шт.

63

352719

* BAND

1шт.

64

386905

* BAND

1шт.

65

352721

* BAND

2шт.

66

236915

* HOLDER

2шт.

67

236916

* BOLT

1шт.

68

A590914

* WASHER;SPRING

1шт.

69

178820

* BOLT

4шт.

70

325913

* WASHER

4шт.

100

4255531

KIT;SEAL

1шт.

Выбрано товаров: 48