Запчасти Hitachi EX400LC-3 115 CYL. BUCKET (R) (LOADER) (005001 -). 04 CYLINDER

Схема запчастей Hitachi EX400LC-3 - 115 CYL. BUCKET (R) (LOADER) (005001 -). 04 CYLINDER
FIT
1:1
100%

Артикул

Название

Примечание

Количество

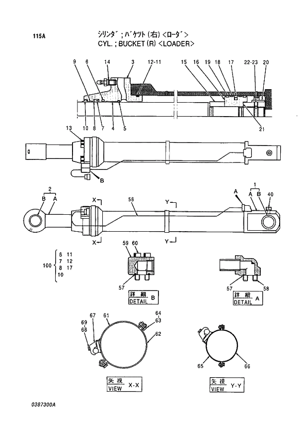
4219780

CYL.;BUCKET (R)

1шт.

01.01.40

4258811

* CYL.;BUCKET (PIPELES

1

4256052

** TUBE;CYL. ASS'Y

1шт.

1A

+++++++

*** TUBE;CYL.

1шт.

1B

352723

*** BUSHING;PIN

1шт.

2

4256053

** ROD;PISTON ASS'Y

1шт.

2A

+++++++

*** ROD;PISTON

1шт.

2B

387101

*** BUSHING;PIN

1шт.

3

387301

** HEAD;CYL.

1шт.

4

352704

** BUSHING

1шт.

5

133103

** RING;RETAINING

1шт.

6

352705

** RING;SEAL

1шт.

7

352706

** PACKING;U-RING

1шт.

8

352707

** RING;BACK-UP

1шт.

9

352708

** RING;SLIDE

1шт.

10

352709

** RING;WIPER

1шт.

11

A811145

** O-RING

1шт.

12

387302

** RING;BACK-UP

1шт.

13

352716

** BOLT;SOCKET

8шт.

14

237418

** BLEEDER;AIR

1шт.

15

387303

** BRG.;CUSHION

1шт.

16

387304

** PISTON

1шт.

17

237218

** RING;SEAL ASS'Y

1шт.

18

387305

** RING;SLIDE

2шт.

19

237220

** RING

2шт.

20

373415

** NUT

1шт.

21

373414

** SHIM

1шт.

22

104404

** BALL

1шт.

23

352715

** SCREW;SET

1шт.

40

J75481

** FITTING;GREASE

1шт.

56

387306

* PIPE

1шт.

57

984614

* O-RING

2шт.

58

150616

* BOLT;SOCKET

4шт.

59

387307

* JOINT

1шт.

60

309020

* BOLT;SOCKET

4шт.

61

387308

* BAND

1шт.

62

387309

* BAND

1шт.

63

178820

* BOLT

4шт.

64

325913

* WASHER

4шт.

65

387310

* BAND

1шт.

66

387311

* BAND

1шт.

67

309219

* CLAMP;PIPE

2шт.

68

237417

* BOLT

2шт.

69

208516

* WASHER;SPRING

2шт.

100

4255532

KIT;SEAL

1шт.

Выбрано товаров: 45