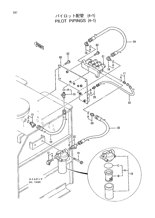
Запчасти Hitachi EX400LC-3 097 PILOT PIPINGS (4-1) (005001 -). 01 UPPERSTRUCTURE

Схема запчастей Hitachi EX400LC-3 - 097 PILOT PIPINGS (4-1) (005001 -). 01 UPPERSTRUCTURE
FIT
1:1
100%

Артикул

Название

Примечание

Количество

0

8055498

BRACKET

1шт.

1

4307603

VALVE;SOLENOID

1шт.

2

J011030

BOLT;SEMS

6шт.

9

4210361

ADAPTER;S

1шт.

09A

4506418

* O-RING

1шт.

10

4154672

ELBOW;S

2шт.

10A

4506418

* O-RING

1шт.

11

4200465

ADAPTER;S

1шт.

11A

957366

* O-RING

1шт.

15

4303003

TEE;S

2шт.

15A

4506418

* O-RING

1шт.

17

4154672

ELBOW;S

1шт.

17A

4506418

* O-RING

1шт.

18

4191300

FILTER;OIL

1шт.

18A

4207841

* ELEMENT;OIL

1шт.

18B

4191301

** ELEMENT;FILTER

1шт.

18C

A811065

** O-RING

1шт.

19

J011000

BOLT;SEMS

2шт.

22

4270679

TEE;S

1шт.

22A

4506418

* O-RING

1шт.

28

4200465

ADAPTER;S

1шт.

28A

957366

* O-RING

1шт.

30

4344492

HOSE (PB)

1шт.

32

4317664

HOSE;NYLON (T3)

I -5591

1шт.

32

4317664

HOSE;NYLON (T3)

05604 - 05609

1шт.

32

4366755

HOSE (T3)

05592 - 05603

1шт.

32

4366755

HOSE (T3)

05610 -

1шт.

34

4308613

HOSE;NYLON (PD)

I -5591

1шт.

34

4308613

HOSE;NYLON (PD)

05604 - 05609

1шт.

34

4366756

HOSE (PD)

05592 - 05603

1шт.

34

4366756

HOSE (PD)

05610 -

1шт.

59

4330803

HOSE;NYLON (H5)

Y -5085

1шт.

59

4330803

HOSE;NYLON (H5)

05096 - 05101

1шт.

59

4345842

HOSE;NYLON (H5)

I 05086 - 05095

1шт.

59

4345842

HOSE;NYLON (H5)

05102 - 05591

1шт.

59

4345842

HOSE;NYLON (H5)

05604 - 05609

1шт.

59

4366757

HOSE (H5)

05592 - 05603

1шт.

59

4366757

HOSE (H5)

05610 -

1шт.

Выбрано товаров: 0