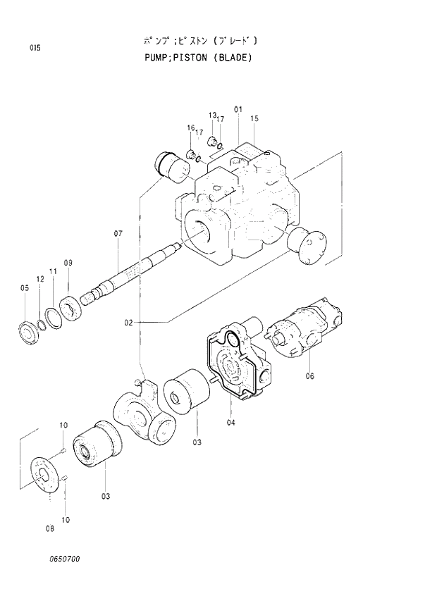
Запчасти Hitachi EX60LC-3 015 PISTON PUMP (WITH BLADE) (040001 -). 01 PUMP

Схема запчастей Hitachi EX60LC-3 - 015 PISTON PUMP (WITH BLADE) (040001 -). 01 PUMP
FIT
1:1
100%

Артикул

Название

Примечание

Количество

4350439

PUMP;PISTON

1шт.

1

4308266

* CONTROL PART

1шт.

2

4308267

* HANGER PART

1шт.

3

4330977

* ROTARY GROUP

2шт.

4

4308269

* COVER PART

1шт.

5

4255181

* CASE PART

1шт.

6

4356089

* GEAR PUMP

1шт.

7

385701

* SHAFT

1шт.

8

461601

* PLATE

1шт.

9

385703

* BRG.

1шт.

10

294409

* PIN

2шт.

11

385704

* SHIM

1шт.

12

385705

* RING;RETAINING

1шт.

13

215221

* PLUG

1шт.

15

+++++++

* NAME-PLATE

1шт.

16

385706

* PLUG

1шт.

17

957366

* O-RING

2шт.

Выбрано товаров: 0