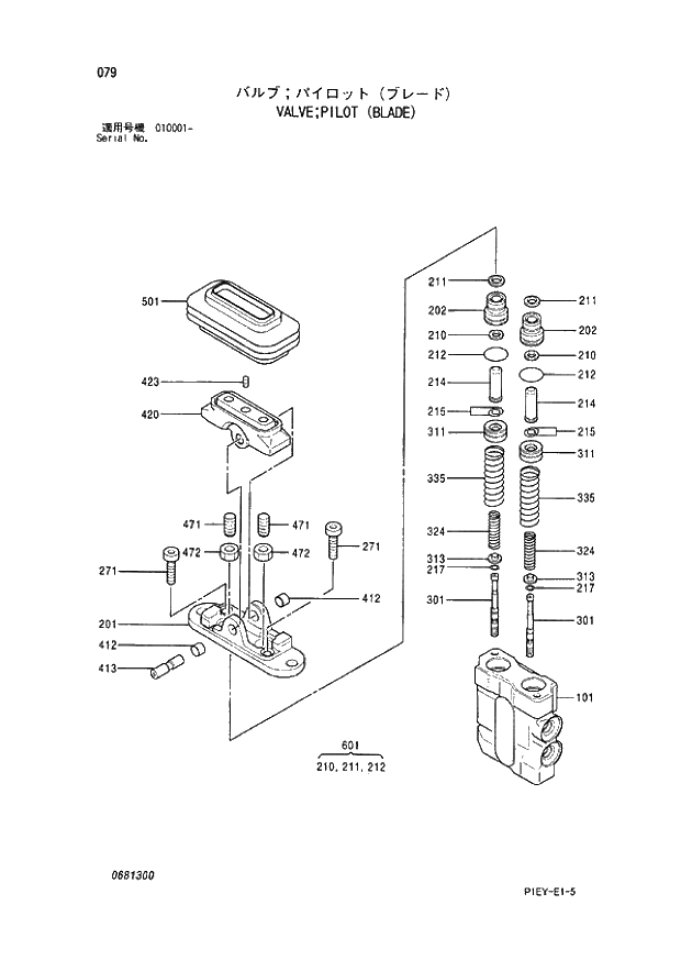
Запчасти Hitachi ZX110 079_VALVE;PILOT (BLADE) (010001 -). 04 VALVE

Схема запчастей Hitachi ZX110 - 079_VALVE;PILOT (BLADE) (010001 -). 04 VALVE
FIT
1:1
100%

Артикул

Название

Примечание

Количество

4357586

VALVE;PILOT

1шт.

101

+++++++

* CASING

1шт.

201

630701

* COVER

1шт.

202

630702

* PLUG

2шт.

210

628908

* SEAL

2шт.

211

630703

* SCRAPER

2шт.

212

4506420

* O-RING

2шт.

214

681301

* ROD;PUSH

2шт.

215

428906

* WASHER

4шт.

217

428907

* WASHER

2шт.

271

630705

* BOLT;SOCKET

2шт.

301

+++++++

* SPOOL

2шт.

311

630706

* SEAT;SPRING

2шт.

313

428910

* WASHER;SPRING

2шт.

324

630707

* SPRING

2шт.

335

681302

* SPRING

2шт.

412

630709

* BUSHING

2шт.

413

630710

* SHAFT;CAM

1шт.

420

630711

* CAM

1шт.

423

179001

* SCREW

1шт.

471

630712

* SCREW;SET

2шт.

472

630713

* NUT;LOCK

2шт.

501

630714

* BELLOWS

1шт.

601

4345769

KIT;SEAL

1шт.

Выбрано товаров: 0