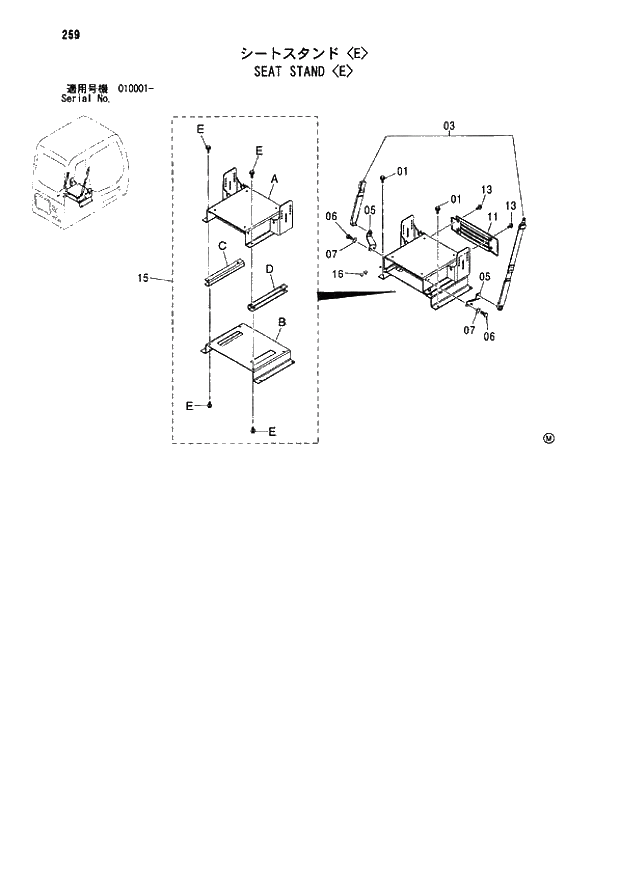
Запчасти Hitachi ZX110M 259_SEAT STAND E (010001 -). 01 UPPERSTRUCTURE

Схема запчастей Hitachi ZX110M - 259_SEAT STAND E (010001 -). 01 UPPERSTRUCTURE
FIT
1:1
100%

Артикул

Название

Примечание

Количество

1

J011025

BOLT;SEMS

0

4шт.

1

J271025

BOLT;SEMS

T D03/05 -

4шт.

1

J271025

BOLT;SEMS

T

4шт.

3

4319875

SEAT;BELT

1шт.

5

8065061

BRACKET

2шт.

6

4235232

BOLT

4шт.

7

J219167

WASHER;SPRING

4шт.

11

4445703

COVER

1шт.

13

J680616

SCREW;SEMS

4шт.

15

9198980

CARRIER (E)

1шт.

15A

7038582

* CARRIER

1шт.

15B

3089486

* STAND

1шт.

15C

8083373

* BRACKET;(L)

1шт.

15D

8083374

* BRACKET;(R)

1шт.

15E

J011025

* BOLT;SEMS

0

8шт.

15E

J271025

* BOLT;SEMS

T D03/05 -

8шт.

15E

J271025

* BOLT;SEMS

T

8шт.

16

4280359

CLIP

2шт.

Выбрано товаров: 18