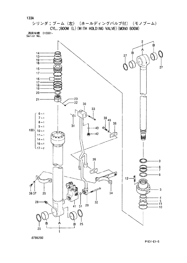
Запчасти Hitachi ZX110M 133_CYL.;BOOM (L)(WITH HOLDING VALVE)(MONO BOOM) (010001 -). 03 CYLINDER

Схема запчастей Hitachi ZX110M - 133_CYL.;BOOM (L)(WITH HOLDING VALVE)(MONO BOOM) (010001 -). 03 CYLINDER
FIT
1:1
100%

Артикул

Название

Примечание

Количество

4440715

CYL.;BOOM

1шт.

1

789801

* TUBE;CYL. ASS'Y

1шт.

1A

789802

** TUBE;CYL.

1шт.

1B

4352638

** BUSHING;PIN

2шт.

2

789703

* ROD;PISTON ASS'Y

1шт.

2A

789704

** ROD;PISTON

1шт.

2B

4362025

** BUSHING;PIN

2шт.

3

789705

* HEAD;CYL.

1шт.

4

310304

* BUSHING;PIN

1шт.

5

271304

* RING;RETAINING

1шт.

6

789306

* RING

1шт.

7

271309

* PACKING;U-RING

1шт.

8

271310

* RING;BACK-UP

1шт.

9

666806

* RING;WIPER

1шт.

10

A811090

* O-RING

1шт.

11

310606

* RING;BACK-UP

1шт.

12

667107

* BOLT;SOCKET

10шт.

13

408806

* BRG.;CUSHION

1шт.

14

666807

* SEAL

1шт.

15

409106

* PISTON

1шт.

16

310608

* RING;SEAL

1шт.

17

409107

* RING;BUCK-UP

2шт.

18

667108

* RING;SLIDE

2шт.

19

310610

* RING;SLIDE

2шт.

20

326007

* SHIM

1шт.

21

789606

* NUT

1шт.

22

310612

* SCREW;SET

1шт.

23

111818

* BALL;STEEL

1шт.

25

408810

* RING;WIPER

2шт.

27

409112

* RING;WIPER

2шт.

28

J75481

* FITTING;GREASE

1шт.

29

4438343

* PIPE

1шт.

30

4440719

* PIPE

1шт.

31

4509181

* O-RING

2шт.

32

796401

* BOLT;SOCKET

I 0

4шт.

32

4486911

* BOLT;SOCKET

D02/05 -

4шт.

33

265109

* BOLT;SOCKET

4шт.

34-40

674907

* KIT;BAND

1шт.

34

409405

** BAND

1шт.

35

310619

** BAND

1шт.

36

408815

** BOLT

2шт.

37

325913

** WASHER

2шт.

38

310312

** HOLDER

2шт.

39

224115

** BOLT

1шт.

40

208516

** WASHER;SPRING

1шт.

41

4487493

* VALVE;HOLDING

I

1шт.

41

-4487498

* VALVE;HOLDING

1шт.

42

796501

* PLUG

0

1шт.

43

4506416

* O-RING

0

1шт.

100

4448392

KIT;SEAL

1шт.

Выбрано товаров: 0