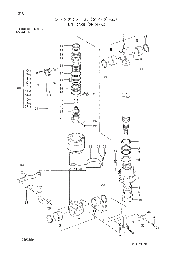
Запчасти Hitachi ZX120 131_CYL.;ARM (2P-BOOM) (060001 -). 04 CYLINDER

Схема запчастей Hitachi ZX120 - 131_CYL.;ARM (2P-BOOM) (060001 -). 04 CYLINDER
FIT
1:1
100%

Артикул

Название

Примечание

Количество

4608256

CYL.;ARM

1шт.

1

903801

* TUBE;CYL.

1шт.

1A

+++++++

** TUBE;CYL.

1шт.

1B

4352400

** BUSHING;PIN

2шт.

2

789503

* ROD;PISTON ASS'Y

1шт.

2A

+++++++

** ROD;PISTON

1шт.

2B

4352400

** BUSHING;PIN

2шт.

3

789205

* HEAD;CYL.

1шт.

4

309304

* BUSHING

1шт.

5

208604

* RING;RETAINING

1шт.

6

789206

* RING

1шт.

7

208605

* PACKING;U-RING

1шт.

8

208606

* RING;BACK-UP

1шт.

9

667006

* RING;WIPER

1шт.

10

A811110

* O-RING

1шт.

11

310904

* RING;BACK-UP

1шт.

12

409705

* BOLT;SOCKET

10шт.

13

409005

* BRG.;CUSHION

1шт.

14

667007

* SEAL

1шт.

15

789505

* PISTON

1шт.

16

225614

* RING;SEAL

1шт.

17

496605

* RING;BACK-UP

2шт.

18

686405

* RING;SLIDE

2шт.

19

310908

* RING

2шт.

20

409010

* SHIM

1шт.

21

789506

* NUT

1шт.

22

309011

* SCREW;SET

1шт.

23

111707

* BALL;STEEL

1шт.

24

409012

* BRG.;CUSHION

1шт.

25

667010

* SEAL

1шт.

26

409014

* STOPPER

2шт.

27

409015

* RING

1шт.

29

857404

* RING;WIPER

4шт.

30

882402

* PIPE

1шт.

31

903802

* PIPE

1шт.

32

4506430

* O-RING

2шт.

33

309019

* BOLT;SOCKET

8шт.

34-40

903803

* KIT;BAND

1шт.

34

903804

** BAND

1шт.

35

686409

** BAND

1шт.

36

408815

** BOLT

2шт.

37

325913

** WASHER

2шт.

38

236915

** HOLDER

2шт.

39

254312

** BOLT

1шт.

40

A590914

** WASHER;SPRING

1шт.

41

225709

* FITTING;GREASE

1шт.

100

4448396

KIT;SEAL

1шт.

Выбрано товаров: 47