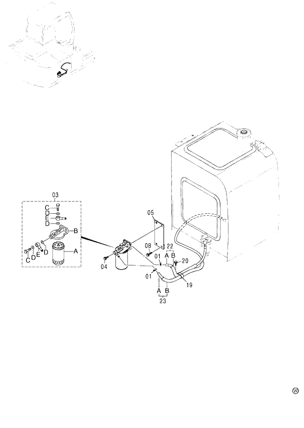
Запчасти Hitachi ZX120 029_FUEL DOUBLE FILTER (060001-). 01 UPPERSTRUCTURE

Схема запчастей Hitachi ZX120 - 029_FUEL DOUBLE FILTER (060001-). 01 UPPERSTRUCTURE
FIT
1:1
100%

Артикул

Название

Примечание

Количество

1

4514700

CLIP;HOSE

2шт.

3

4335136

FILTER;FUEL

1шт.

03A

4326739

* FILTER;FUEL

1шт.

03B

4326807

* HEAD

1шт.

03C

4326740

* BOLT

2шт.

03D

4326741

* GASKET

4шт.

03E

4326742

* PIPE;FUEL

2шт.

4

J021035

BOLT;SEMS

0

2шт.

4

J271035

BOLT;SEMS

T D03/05-

2шт.

Выбрано товаров: 9