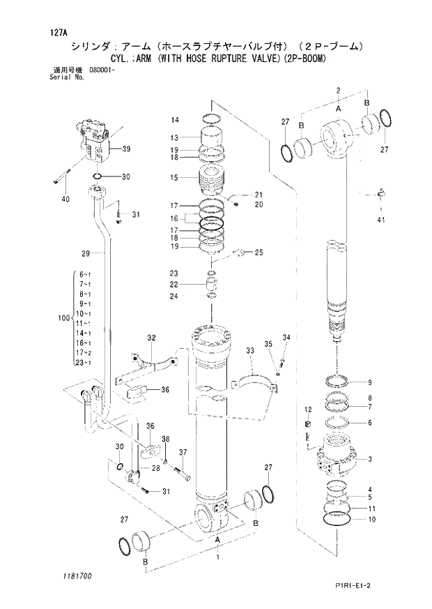
Запчасти Hitachi ZX130K-3 127_CYL.;ARM (WITH HOSE RUPTURE VALVE)(2P-BOOM) (080001 -). 05 CYLINDER

Схема запчастей Hitachi ZX130K-3 - 127_CYL.;ARM (WITH HOSE RUPTURE VALVE)(2P-BOOM) (080001 -). 05 CYLINDER
FIT
1:1
100%

Артикул

Название

Примечание

Количество

4682536

CYL.;ARM

1шт.

1

1181401

* TUBE;CYL. ASS'Y

1шт.

1A

+++++++

** TUBE;CYL.

1шт.

1B

4352400

** BUSHING;PIN

2шт.

2

1137502

* ROD;PISTON ASS'Y

1шт.

2A

+++++++

** ROD;PISTON

1шт.

2B

4352400

** BUSHING;PIN

2шт.

3

789205

* HEAD;CYL.

1шт.

4

309304

* BUSHING

1шт.

5

208604

* RING;RETAINING

1шт.

6

789213

* RING

1шт.

7

789214

* PACKING;U-RING

1шт.

8

208606

* RING;BACK-UP

1шт.

9

667006

* RING;WIPER

1шт.

10

A811110

* O-RING

1шт.

11

310904

* RING;BACK-UP

1шт.

12

409705

* BOLT;SOCKET

10шт.

13

409005

* BRG.;CUSHION

1шт.

14

667007

* SEAL

1шт.

15

1137504

* PISTON

1шт.

16

225614

* RING;SEAL

1шт.

17

496605

* RING;BACK-UP

2шт.

18

1102304

* RING;SLIDE

2шт.

19

310908

* RING

2шт.

20

309011

* SCREW;SET

1шт.

21

111707

* BALL;STEEL

1шт.

22

409913

* BRG.;CUSHION

1шт.

23

667411

* SEAL;CUSHION

1шт.

24

409915

* STOPPER

2шт.

25

686406

* RING;RETAINING

1шт.

27

4084578

* SEAL;DUST

4шт.

28

882406

* PIPE

1шт.

29

4692985

* PIPE

1шт.

30

4506430

* O-RING

2шт.

31

M341030

* BOLT;SOCKET

8шт.

32-38

903803

* KIT;BAND

1шт.

32

903804

** BAND

1шт.

33

686409

** BAND

1шт.

34

J901035

** BOLT

2шт.

35

A590910

** WASHER

2шт.

36

236915

** HOLDER

2шт.

37

254312

** BOLT

1шт.

38

A590914

** WASHER;SPRING

1шт.

39

4686893

* VALVE;HOLDING

1шт.

40

4489387

* BOLT;SOCKET

4шт.

41

225709

* FITTING;GREASE

1шт.

100

4669905

KIT;SEAL

1шт.

Выбрано товаров: 47