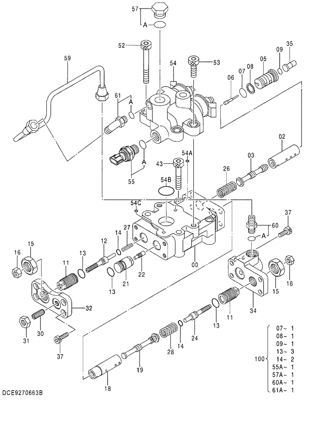
Запчасти Hitachi ZX140W-3 322 PUMP REGULATOR (2) ( CEB CED 002001-,005001- CEA 020001-,050001-). 01 PUMP

Схема запчастей Hitachi ZX140W-3 - 322 PUMP REGULATOR (2) ( CEB CED 002001-,005001- CEA 020001-,050001-). 01 PUMP
FIT
1:1
100%

Артикул

Название

Примечание

Количество

+++++++

PUMP;REGULATOR (2)

I

1шт.

9278491

PUMP;REGULATOR (2)

1шт.

0

1026282

* CASING

1шт.

2

4179155

* SLEEVE

1шт.

3

4179156

* SPOOL

1шт.

5

4375722

* CYL.;LOAD

1шт.

6

4360590

* PISTON

1шт.

7

4150302

* O-RING

1шт.

8

4085607

* RING;BACK-UP

1шт.

9

4297380

* O-RING

1шт.

11

4179161

* STOPPER

2шт.

12

4179162

* STOPPER

1шт.

13

4342843

* O-RING

3шт.

14

4342841

* O-RING

2шт.

15

4068898

* NUT

2шт.

16

M500807

* NUT

2шт.

18

4346522

* SLEEVE

1шт.

19

4346521

* SPOOL

1шт.

21

4451498

* CYL.

1шт.

22

4179171

* PISTON

1шт.

24

4347107

* STOPPER;INNER

1шт.

26

4616531

* SPRING;COMPRES.

1шт.

27

4616533

* SPRING;COMPRES.

1шт.

28

4411325

* SPRING;COMPRES.

1шт.

30

4265964

* SCREW;SET

1шт.

31

J950010

* NUT

1шт.

32

4433327

* COVER

1шт.

34

3107927

* COVER;REAR

1шт.

35

4653849

* PISTON

1шт.

37

M340820

* BOLT;SOCKET

8шт.

43

M341056

* BOLT;SOCKET

2шт.

52

M341080

* BOLT;SOCKET

2шт.

53

M341030

* BOLT;SOCKET

2шт.

54

9274856

* VALVE;SOLENOID

1шт.

54A

4150302

** O-RING

1шт.

54B

4153534

** O-RING

1шт.

54C

4153087

** O-RING

1шт.

55

4436536

* SENSOR;PRES.

1шт.

55A

4153095

** O-RING

1шт.

57

4174541

* PLUG

1шт.

57A

4506418

** O-RING

1шт.

59

4629372

* PIPE

1шт.

60

4255304

* FITTING;PIPE

1шт.

60A

957366

** O-RING

1шт.

61

4293950

* ELBOW;S

1шт.

61A

957366

** O-RING

1шт.

100

4455733

KIT;SEAL

1шт.

Выбрано товаров: 0