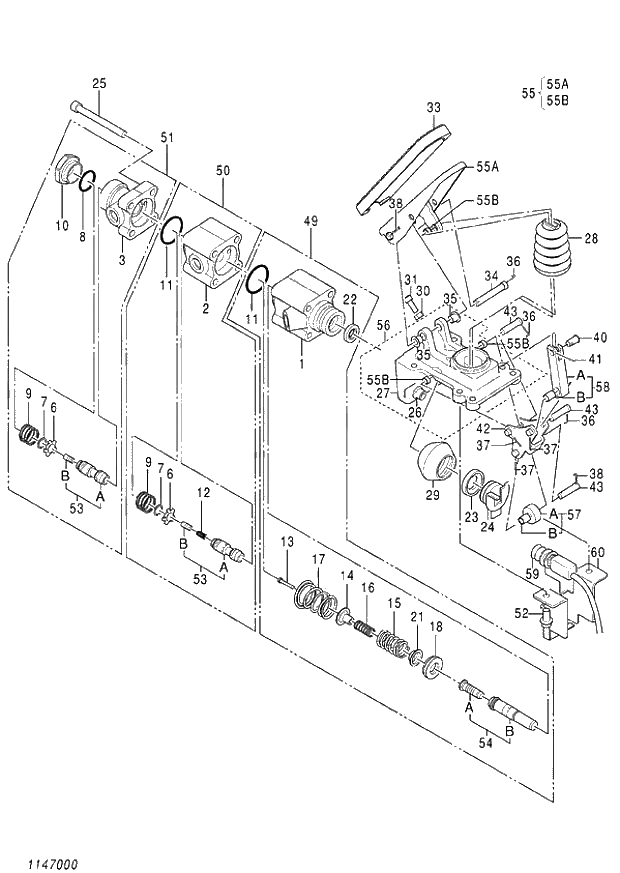
Запчасти Hitachi ZX140W-3 400 VALVE BRAKE ( CEB CED 002001-,005001- CEA 020001-,050001-). 03 VALVE

Схема запчастей Hitachi ZX140W-3 - 400 VALVE BRAKE ( CEB CED 002001-,005001- CEA 020001-,050001-). 03 VALVE
FIT
1:1
100%

Артикул

Название

Примечание

Количество

4651246

VALVE;BRAKE

1шт.

1

+++++++

* FLANGE

1шт.

2

+++++++

* CYL.

1шт.

3

+++++++

* CYL.

1шт.

6

+++++++

* RETAINER

2шт.

7

898722

* RING;RETAINING

2шт.

8

898726

* O-RING

1шт.

9

898723

* SPRING

2шт.

10

+++++++

* NUT

1шт.

11

898719

* O-RING

2шт.

12

898724

* SPRING

1шт.

13

+++++++

* ROD

1шт.

14

+++++++

* HOLDER

1шт.

15

+++++++

* SPRING

1шт.

16

+++++++

* SPRING

1шт.

17

+++++++

* SPRING

1шт.

18

+++++++

* RETAINER

1шт.

21

+++++++

* RETAINER

1шт.

22

898720

* SEAL;OIL

1шт.

23

898701

* STOPPER

1шт.

24

1147001

* SEAT

1шт.

25

898703

* BOLT;SOCKET

4шт.

26

898704

* BOLT;SOCKET

4шт.

27

+++++++

* BRACKET

1шт.

28

898705

* BOOT

1шт.

29

898706

* BOOT

1шт.

30

898707

* NUT

1шт.

31

898708

* BOLT;SOCKET

1шт.

33

898709

* PAD

1шт.

34

898710

* PIN

1шт.

35

898731

* BUSHING

2шт.

36

898711

* PIN

4шт.

37

898712

* PIN;SPLIT

3шт.

38

898713

* PIN;SPLIT

1шт.

40

898714

* PIN

1шт.

41

898715

* PIN;SPRING

1шт.

42

898716

* LINK

1шт.

43

898717

* PIN

3шт.

49

1147002

* FLANGE

1шт.

50

1147003

* CYL.

1шт.

51

1147004

* CYL.

1шт.

52

1147005

* BOLT;SOCKET

2шт.

53

+++++++

* SPOOL

2шт.

53A

+++++++

** SPOOL

1шт.

53B

+++++++

** PLUNGER

1шт.

54

+++++++

* PISTON ASS'Y

1шт.

54A

+++++++

** PISTON

1шт.

54B

+++++++

** ROD;PUSH

1шт.

55

898728

* PEDAL ASS'Y

1шт.

55A

+++++++

** PEDAL

1шт.

55B

898729

** BUSHING

3шт.

56

1147006

* BRACKET

1шт.

57

898732

* ROLLER ASS'Y

1шт.

57A

+++++++

** ROLLER

1шт.

57B

898733

** BUSHING

1шт.

58

898734

* YOKE ASS'Y

1шт.

58A

+++++++

** YOKE

1шт.

58B

898733

** BUSHING

1шт.

59

4671332

* SWITCH;LIMIT

1шт.

60

1147008

* BRACKET

1шт.

Выбрано товаров: 60