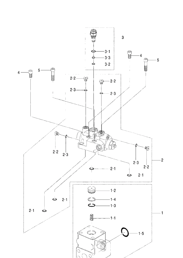
Запчасти Hitachi ZX140W-3 406 VALVE HOLDING (R)(BOOM)(MONO BOOM,2P-BOOM) ( CEB CED D08-11-, CEA D08-11-). 05 CYLINDER

Схема запчастей Hitachi ZX140W-3 - 406 VALVE HOLDING (R)(BOOM)(MONO BOOM,2P-BOOM) ( CEB CED D08-11-, CEA D08-11-). 05 CYLINDER
FIT
1:1
100%

Артикул

Название

Примечание

Количество

4707372

VALVE;HOLDING

1шт.

1

1232301

* BODY ASS'Y

1шт.

01.01.12

973602

** SPRING

1шт.

01.02.12

973603

** COVER

1шт.

01.03.12

4506424

** O-RING

1шт.

01.04.12

4044817

** RING;BACK-UP

1шт.

01.05.12

4506430

** O-RING

1шт.

2

1232302

* BODY ASS'Y

1шт.

02.01.12

4506412

** O-RING

4шт.

02.02.12

866702

** PLUG

4шт.

02.03.12

4506408

** O-RING

4шт.

3

1234703

* VALVE;RELIEF

1шт.

03.01.12

168308

** O-RING

1шт.

03.02.12

866704

** O-RING

1шт.

03.03.12

866705

** RING;BACK-UP

1шт.

4

M341030

* BOLT;SOCKET

2шт.

5

M341056

* BOLT;SOCKET

2шт.

Выбрано товаров: 17