Запчасти Hitachi ZX140W-3 414 VALVE HOLDING (ARM) ( CEB CED D07-10-, CEA D07-10-). 05 CYLINDER

Схема запчастей Hitachi ZX140W-3 - 414 VALVE HOLDING (ARM) ( CEB CED D07-10-, CEA D07-10-). 05 CYLINDER
FIT
1:1
100%

Артикул

Название

Примечание

Количество

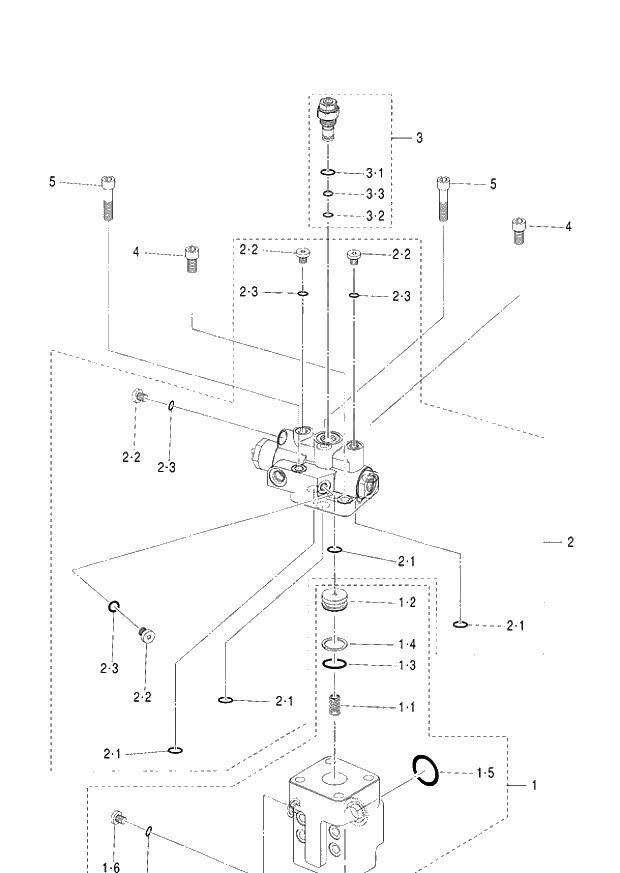
4686893

VALVE;HOLDING

1шт.

1

1181602

* BODY

1шт.

01.01.12

973602

** SPRING

1шт.

01.02.12

973603

** COVER

1шт.

01.03.12

4506424

** O-RING

1шт.

01.04.12

4044817

** RING;BACK-UP

1шт.

01.05.12

4506430

** O-RING

1шт.

01.06.12

866702

** PLUG

1шт.

01.07.12

4506408

** O-RING

1шт.

2

1181601

* BODY

1шт.

02.01.12

4506412

** O-RING

4шт.

02.02.12

866702

** PLUG

4шт.

02.03.12

4506408

** O-RING

4шт.

3

973605

* VALVE;RELIEF

1шт.

03.01.12

168308

** O-RING

1шт.

03.02.12

103025

** O-RING

1шт.

03.03.12

866705

** RING;BACK-UP

1шт.

4

M341030

* BOLT;SOCKET

2шт.

5

151312

* BOLT;SOCKET

2шт.

Выбрано товаров: 19