Запчасти Hitachi ZX140W-3 426 CYL. RAM (R) ( CEB CED 002001-,005001- CEA 020001-,050001-). 05 CYLINDER

Схема запчастей Hitachi ZX140W-3 - 426 CYL. RAM (R) ( CEB CED 002001-,005001- CEA 020001-,050001-). 05 CYLINDER
FIT
1:1
100%

Артикул

Название

Примечание

Количество

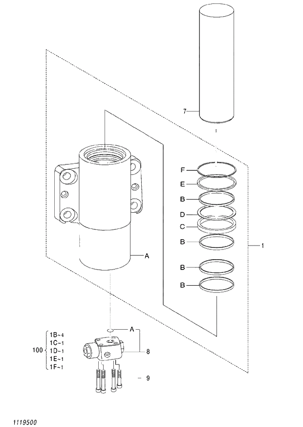
4646313

CYL.;RAM (R)

1шт.

1

1119501

* BODY;ASS'Y

1шт.

1A

1119502

** BODY

1шт.

1B

1119503

** RING;WEAR

4шт.

1C

1119504

** PACKING;U-RING

1шт.

1D

1119505

** BACK-UP;RING

1шт.

1E

1119506

** SEAL;DUST

1шт.

1F

1119507

** RING;RETAINING

1шт.

7

1119508

* ROD

1шт.

8

9258450

* VALVE;CHECK

1шт.

8A

4506416

** O-RING

1шт.

9

1115310

* BOLT;SOCKET

4шт.

100

4669896

KIT;SEAL

1шт.

Выбрано товаров: 13