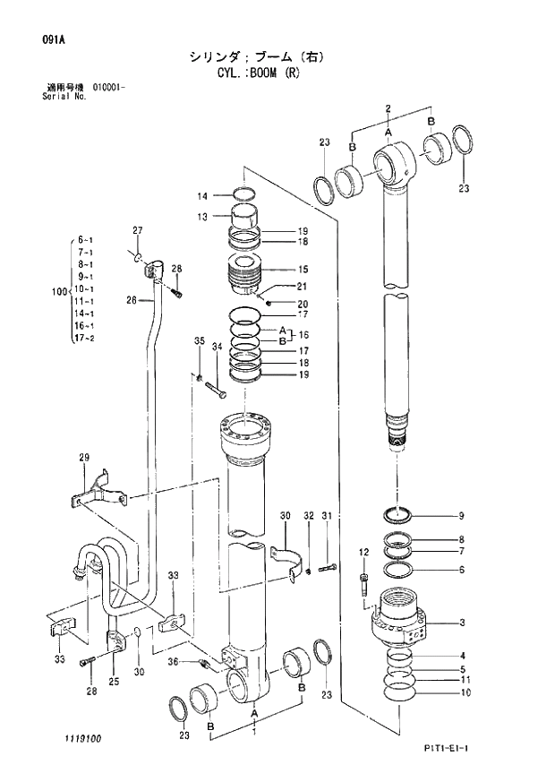
Запчасти Hitachi ZX160LC-3 091_CYL.;BOOM (R) (010001 -). 05 CYLINDER

Схема запчастей Hitachi ZX160LC-3 - 091_CYL.;BOOM (R) (010001 -). 05 CYLINDER
FIT
1:1
100%

Артикул

Название

Примечание

Количество

4645310

CYL.;BOOM (R)

1шт.

1

1119101

* TUBE;CYL. ASS'Y

1шт.

1A

+++++++

** TUBE;CYL.

1шт.

1B

4370747

** BUSHING;PIN

2шт.

2

1119102

* ROD;PISTON ASS'Y

1шт.

2A

+++++++

** ROD;PISTON

1шт.

2B

4352398

** BUSHING;PIN

2шт.

3

828903

* HEAD;CYL.

1шт.

4

309304

* BUSHING

1шт.

5

208604

* RING;RETAINING

1шт.

6

789213

* RING

1шт.

7

789214

* PACKING;U-RING

1шт.

8

208606

* RING;BACK-UP

1шт.

9

667006

* RING;WIPER

1шт.

10

A811105

* O-RING

1шт.

11

298904

* RING;BACK-UP

1шт.

12

M341465

* BOLT;SOCKET

12шт.

13

1119104

* BRG.;CUSHION

1шт.

14

667007

* SEAL

1шт.

15

1119105

* PISTON

1шт.

16

240915

* RING;SEAL ASS'Y

1шт.

16A

+++++++

** RING;SEAL

1шт.

16B

+++++++

** O-RING

1шт.

17

409008

* RING;BACK-UP

2шт.

18

1119106

* RING;SLIDE

2шт.

19

298907

* RING;SLIDE

2шт.

20

310612

* SCREW;SET

1шт.

21

111818

* BALL

1шт.

23

4067902

* SEAL;DUST

4шт.

25

828908

* PIPE

1шт.

26

1119103

* PIPE

1шт.

27

4506430

* O-RING

2шт.

28

M341030

* BOLT;SOCKET

8шт.

29-35

828906

* KIT;BAND

1шт.

29

828907

** BAND

1шт.

30

609115

** BAND

1шт.

31

J901035

** BOLT

2шт.

32

A590910

** WASHER

2шт.

33

236915

** HOLDER

2шт.

34

254312

** BOLT

1шт.

35

A590914

** WASHER;SPRING

1шт.

36

J75481

* FITTING;GREASE

1шт.

100

4662891

KIT;SEAL

1шт.

Выбрано товаров: 43