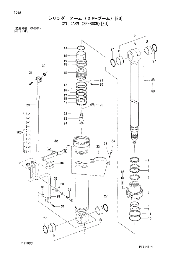
Запчасти Hitachi ZX160LC-3 109_CYL.;ARM (2P-BOOM) EU (010001 -). 05 CYLINDER

Схема запчастей Hitachi ZX160LC-3 - 109_CYL.;ARM (2P-BOOM) EU (010001 -). 05 CYLINDER
FIT
1:1
100%

Артикул

Название

Примечание

Количество

4653229

CYL.;ARM

1шт.

1

1127001

* TUBE;CYL. ASS'Y

1шт.

1A

+++++++

** TUBE;CYL.

1шт.

1B

4352400

** BUSHING;PIN

2шт.

2

1119302

* ROD;PISTON ASS'Y

1шт.

2A

+++++++

** ROD;PISTON

1шт.

2B

4352400

** BUSHING;PIN

2шт.

3

829303

* HEAD;CYL.

1шт.

4

325904

* BUSHING

1шт.

5

237407

* RING;RETAINING

1шт.

6

1119303

* RING

1шт.

7

1119304

* PACKING;U-RING

1шт.

8

237419

* RING;BACK-UP

1шт.

9

4428492

* RING;WIPER

1шт.

10

A811115

* O-RING

1шт.

11

261310

* RING;BACK-UP

1шт.

12

409705

* BOLT;SOCKET

12шт.

13

871304

* BRG.;CUSHION

1шт.

14

4469113

* SEAL

1шт.

15

1102404

* PISTON

1шт.

16

258205

* RING;SEAL ASS'Y

1шт.

17

409709

* RING;BACK-UP

2шт.

18

998904

* RING;SLIDE

2шт.

19

261308

* RING;SLIDE

2шт.

20

309011

* SCREW;SET

1шт.

21

111707

* BALL;STEEL

1шт.

22

409913

* BRG.;CUSHION

1шт.

23

667411

* SEAL;CUSHION

1шт.

24

409915

* STOPPER

2шт.

25

409916

* RING;RETAINING

1шт.

27

4084578

* RING;WIPER

4шт.

28

1127002

* PIPE

1шт.

29

1127003

* PIPE

1шт.

30

4506430

* O-RING

2шт.

31

M341030

* BOLT;SOCKET

8шт.

32-38

1127004

* KIT;BAND

1шт.

32

1127005

** BAND

1шт.

33

309314

** BAND

1шт.

34

J901035

** BOLT

2шт.

35

A590910

** WASHER

2шт.

36

236915

** HOLDER

2шт.

37

254312

** BOLT

1шт.

38

A590914

** WASHER;SPRING

1шт.

39

225709

* FITTING;GREASE

1шт.

100

4662888

KIT:SEAL

1шт.

Выбрано товаров: 45