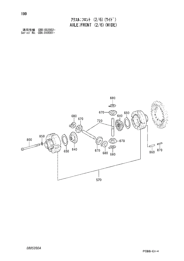
Запчасти Hitachi ZX160W 199 AXLE;FRONT (2-6)(WIDE). 05 POWER TRAIN

Схема запчастей Hitachi ZX160W - 199 AXLE;FRONT (2-6)(WIDE). 05 POWER TRAIN
FIT
1:1
100%

Артикул

Название

Примечание

Количество

4477075

AXLE;FRONT (2/6)

1шт.

570

880101

* CASE

1шт.

640

880102

* GEAR;BEVEL

2шт.

650

880103

* WASHER;THRUST

2шт.

670

880104

* GEAR;BEVEL

4шт.

680

880105

* WASHER;THRUST

4шт.

720

919302

* SPIDER

2шт.

800

880107

* BOLT;SOCKET

12шт.

850

880108

* WASHER

12шт.

860

880109

* PIN

4шт.

870

880110

* PIN

4шт.

Выбрано товаров: 11