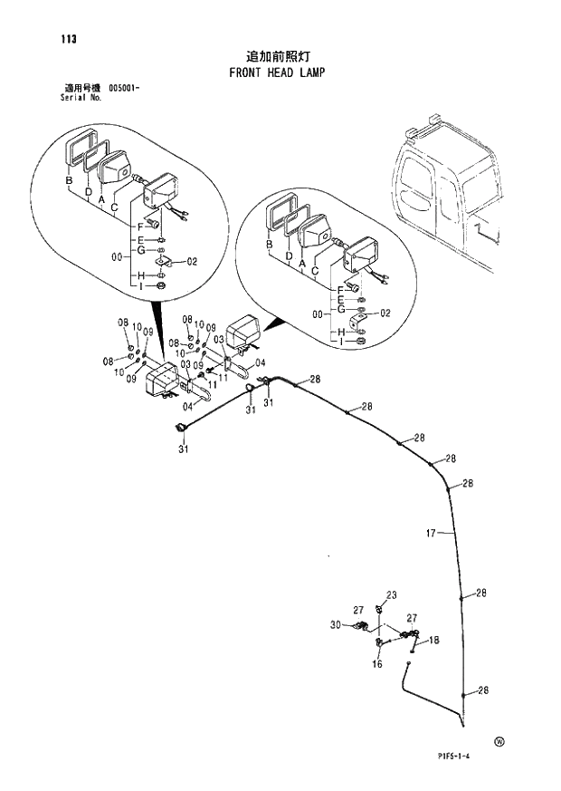
Запчасти Hitachi ZX180LC 113 FRONT HEAD LAMP (005001 -). 01 UPPERSTRUCTURE

Схема запчастей Hitachi ZX180LC - 113 FRONT HEAD LAMP (005001 -). 01 UPPERSTRUCTURE
FIT
1:1
100%

Артикул

Название

Примечание

Количество

0

4336570

LAMP;HEAD ASS'Y

I

2шт.

0

4326800

LAMP;HEAD ASS'Y

2шт.

00A

4326801

* LENS;UNIT

1шт.

00B

4326802

* FRAME

1шт.

00C

4285648

* BULB

1шт.

00D

4326803

* GASKET

1шт.

00E

4307026

* WASHER

1шт.

00F

4307027

* SCREW

4шт.

00G

A590114

* WASHER;PLANE

1шт.

00H

A590914

* WASHER;SPRING

1шт.

00I

J952014

* NUT

1шт.

2

9756005

BRACKET

2шт.

3

4447765

BRACKET

2шт.

4

4447868

BOLT;U

2шт.

8

4447870

NUT;CAP

4шт.

9

J253110

WASHER;PLANE

I 0

4шт.

9

A590110

WASHER;PLANE

D03/05 -

4шт.

10

J252210

WASHER;SPRING

I 0

4шт.

10

A590910

WASHER;SPRING

D03/05 -

4шт.

11

J051030

BOLT;SEMS

0

2шт.

11

J271030

BOLT;SEMS

T D03/05 -

2шт.

11

J271030

BOLT;SEMS

T D03/05 -

2шт.

16

4451681

HARNESS;WIRE

1шт.

17

4362178

HARNESS;WIRE

1шт.

18

4366592

HARNESS;WIRE

1шт.

23

4414207

RELAY

1шт.

27

4289708

CLIP

6шт.

28

4050373

CLIP

7шт.

30

3074559

HARNESS;WIRE

1шт.

31

4055312

CLIP;BAND

3шт.

Выбрано товаров: 30