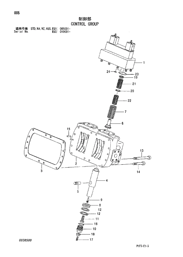
Запчасти Hitachi ZX180LCN 005 CONTROL GROUP (005001 - EU2 010001 -). 01 PUMP

Схема запчастей Hitachi ZX180LCN - 005 CONTROL GROUP (005001 - EU2 010001 -). 01 PUMP
FIT
1:1
100%

Артикул

Название

Примечание

Количество

4479654

CONTROL GROUP

1шт.

1

4479655

* REGULATOR COVER PART

1шт.

2

+++++++

* HOUSING

1шт.

3

838501

* GASKET

1шт.

4

+++++++

* PISTON

2шт.

5

+++++++

* ROD

2шт.

6

838502

* SEAT;SPRING

2шт.

7

838503

* SPRING

2шт.

8

838504

* PISTON

2шт.

9

838505

* PIN

2шт.

10

838506

* SCREW

2шт.

11

838507

* SCREW

2шт.

12

838508

* RING

4шт.

13

838509

* BOLT;SOCKET

4шт.

14

838510

* BOLT;SOCKET

6шт.

15

838511

* PIN

2шт.

16

838512

* O-RING

2шт.

17

838513

* PIN

2шт.

18

838514

* NUT

2шт.

19

838515

* SEAT;SPRING

2шт.

20

838516

* SEAT;SPRING

2шт.

21

838517

* SPRING

2шт.

22

838518

* SPRING

2шт.

23

838519

* O-RING

2шт.

24

838520

* O-RING

4шт.

Выбрано товаров: 25