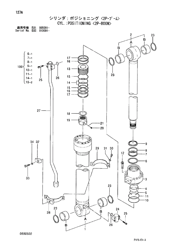
Запчасти Hitachi ZX180LCN 127 CYL. POSITIONING (2P-BOOM) (EU1 005001 - EU2 010001 -). 04 CYLINDER

Схема запчастей Hitachi ZX180LCN - 127 CYL. POSITIONING (2P-BOOM) (EU1 005001 - EU2 010001 -). 04 CYLINDER
FIT
1:1
100%

Артикул

Название

Примечание

Количество

4484620

CYL.;POSITIONING

1шт.

1

871801

* TUBE;CYL. ASS'Y

1шт.

1A

871802

** TUBE;CYL.

1шт.

1B

4397790

** BUSHING;PIN

2шт.

2

871803

* ROD;PISTON ASS'Y

1шт.

2A

871804

** ROD;PISTON

1шт.

2B

4397790

** BUSHING;PIN

2шт.

3

867305

* HEAD;CYL.

1шт.

4

836104

* BUSHING

1шт.

5

208504

* RING

1шт.

6

836105

* RING

1шт.

7

836106

* PACKING;U-RING

1шт.

8

836107

* RING;BACK-UP

1шт.

9

807904

* RING;WIPER

1шт.

10

A811145

* O-RING

1шт.

11

871805

* RING;BACK-UP

1шт.

12

714306

* BOLT;SOCKET

12шт.

13

867306

* PISTON

1шт.

14

237218

* RING;SEAL

1шт.

15

871806

* RING;BACK-UP

2шт.

16

867307

* RING;SLIDE

2шт.

17

237220

* RING;SLIDE

2шт.

18

373414

* SHIM

1шт.

19

867308

* NUT

1шт.

20

352715

* SCREW;SET

1шт.

21

104404

* BALL

1шт.

23

4067901

* RING;WIPER

4шт.

24

867309

* JOINT

0

1шт.

24

899203

* JOINT

D04/05 -

1шт.

25

309020

* BOLT;SOCKET

0

8шт.

25

M341236

* BOLT;SOCKET

D04/05 -

8шт.

26

984614

* O-RING

2шт.

27

890501

* PIPE

0

1шт.

27

890502

* PIPE

D04/05 -

1шт.

28-34

867313

* KIT;BAND

1шт.

28

867314

** BAND

1шт.

29

387311

** BAND

1шт.

30

408815

** BOLT

2шт.

31

325913

** WASHER

2шт.

32

309021

** HOLDER

1шт.

33

667013

** BOLT

1шт.

34

208516

** WASHER;SPRING

1шт.

100

4612271

KIT;SEAL

1шт.

Выбрано товаров: 43