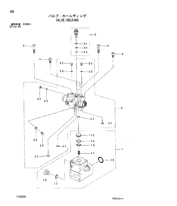
Запчасти Hitachi ZX180W-3 109 VALVE;HOLDING. 05 CYLINDER

Схема запчастей Hitachi ZX180W-3 - 109 VALVE;HOLDING. 05 CYLINDER
FIT
1:1
100%

Артикул

Название

Примечание

Количество

4661663

VALVE;HOLDING

1шт.

1

1128201

* BODY ASS'Y

1шт.

1-1

0973602

** SPRING

1шт.

1-2

0973603

** COVER

1шт.

1-3

4506424

** O-RING

1шт.

1-4

4044817

** RING;BACK-UP

1шт.

1-5

984614

** O-RING

1шт.

1-6

1126802

** PLUG

1шт.

1-7

4506416

** O-RING

1шт.

2

1128202

* BODY ASS'Y

1шт.

2-1

4506412

** O-RING

4шт.

2-2

0866702

** PLUG

4шт.

2-3

4506408

** O-RING

4шт.

3

0973605

* VALVE;RELIEF

1шт.

3-1

0168308

** O-RING

1шт.

3-2

0103025

** O-RING

1шт.

3-3

0866705

** RING;BACK-UP

1шт.

4

M341030

* BOLT;SOCKET

2шт.

5

0151312

* BOLT;SOCKET

2шт.

Выбрано товаров: 19