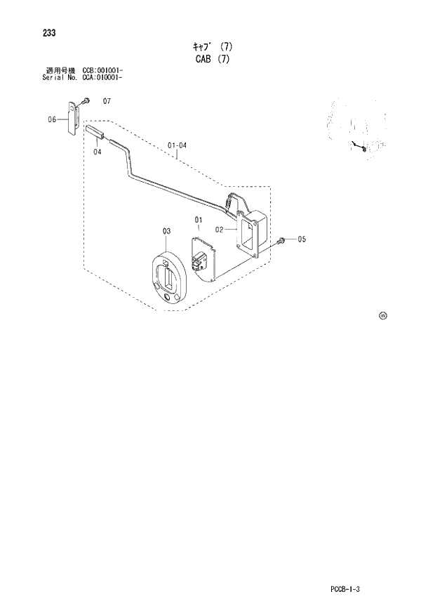
Запчасти Hitachi ZX180W 233_CAB (7) (CCA 010001 -; CCB 001001 -). 01 UPPERSTRUCTURE

Схема запчастей Hitachi ZX180W - 233_CAB (7) (CCA 010001 -; CCB 001001 -). 01 UPPERSTRUCTURE
FIT
1:1
100%

Артикул

Название

Примечание

Количество

01.04.12

4456244

CATCH;DOOR ASS'Y

1шт.

1

4456245

* CATCH;DOOR

1шт.

2

4456246

* CASE ASS'Y

1шт.

3

4456247

* RUBBER;STOPPER

1шт.

4

4089012

* CAP

4шт.

5

J260820

BOLT;SEMS

4шт.

05A

J900820

* BOLT

1шт.

05B

A590108

* WASHER;PLANE

1шт.

6

4456248

STOPPER

1шт.

7

J271025

BOLT;SEMS

1шт.

07A

J901025

* BOLT

1шт.

07B

J222010

* WASHER

1шт.

Выбрано товаров: 12