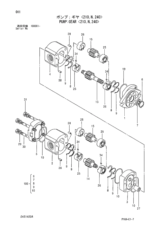
Запчасти Hitachi ZX200LC 011 PUMP;GEAR 210,N,240. 01 PUMP

Схема запчастей Hitachi ZX200LC - 011 PUMP;GEAR 210,N,240. 01 PUMP
FIT
1:1
100%

Артикул

Название

Примечание

Количество

4278696

PUMP;GEAR

1шт.

1

354601

* FLANGE

1шт.

2

D

* HOUSING

1шт.

3

424901

* FLANGE

1шт.

4

D

* HOUSING

1шт.

5

354603

* COVER

1шт.

6

K

* RING;RETAINING

1шт.

7

K

* SEAL;OIL

1шт.

8

K

* SEAL

4шт.

9

K

* RING;BACK-UP

4шт.

10

K

* O-RING

4шт.

13

D

* GEAR

1шт.

14

D

* GEAR

1шт.

15

D

* GEAR

1шт.

25

D

* BUSHING

4шт.

26

D

* BUSHING

4шт.

27

424902

* COUPLING

1шт.

28

354610

* PIN

6шт.

29

354611

* WASHER

4шт.

30

415302

* BOLT

4шт.

31

354613

* NUT

4шт.

34

354614

* KEY

4шт.

100

424903

KIT;SEAL

1шт.

Выбрано товаров: 23