Запчасти Hitachi ZX210K-3 065 VALVE;SOLENOID. 02 VALVE

Схема запчастей Hitachi ZX210K-3 - 065 VALVE;SOLENOID. 02 VALVE
FIT
1:1
100%

Артикул

Название

Примечание

Количество

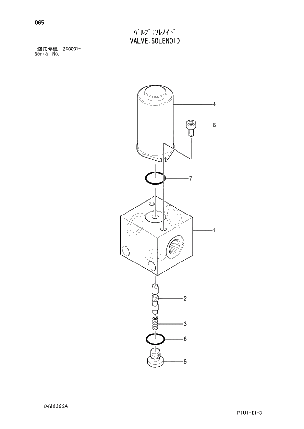
4261289

VALVE;SOLENOID

1шт.

1

D

* BODY

1шт.

2

D

* SPOOL

1шт.

3

444301

* SPRING

1шт.

4

444302

* SOLENOID

1шт.

5

215220

* PLUG

1шт.

6

4506408

* O-RING

1шт.

7

444303

* O-RING

1шт.

8

444304

* BOLT;SOCKET

2шт.

Выбрано товаров: 9