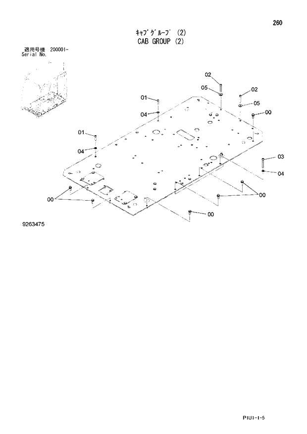
Запчасти Hitachi ZX210LCK-3 260 CAB GROUP (2). 01 UPPERSTRUCTURE

Схема запчастей Hitachi ZX210LCK-3 - 260 CAB GROUP (2). 01 UPPERSTRUCTURE
FIT
1:1
100%

Артикул

Название

Примечание

Количество

0

D

BOLT;SEMS

6шт.

00A

J901035

* BOLT

1шт.

00B

J222010

* WASHER

1шт.

1

J781040

BOLT;SOCKET

2шт.

2

J781065

BOLT;SOCKET

2шт.

3

J781090

BOLT;SOCKET

1шт.

4

J222010

WASHER

3шт.

5

J217083

WASHER

2шт.

Выбрано товаров: 8