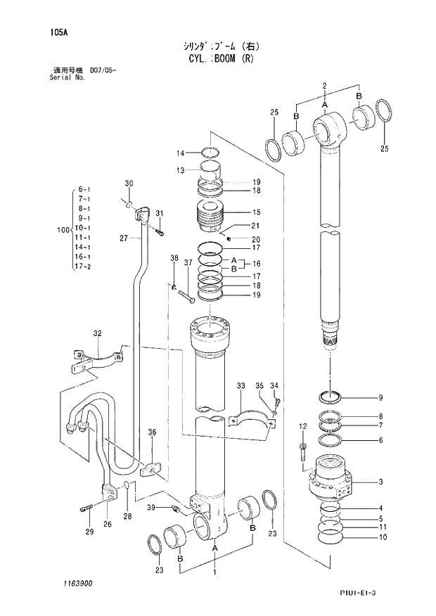
Запчасти Hitachi ZX210LCK-3 105 CYL.;BOOM (R). 03 CYLINDER

Схема запчастей Hitachi ZX210LCK-3 - 105 CYL.;BOOM (R). 03 CYLINDER
FIT
1:1
100%

Артикул

Название

Примечание

Количество

4679672

CYL.;BOOM (R)

1шт.

1

998901

* TUBE;CYL. ASS'Y

1шт.

1A

D

** TUBE;CYL.

1шт.

1B

4352398

** BUSHING;PIN

2шт.

2

998902

* ROD;PISTON ASS'Y

1шт.

2A

D

** ROD;PISTON

1шт.

2B

4355875

** BUSHING;PIN

2шт.

3

788905

* HEAD;CYL.

1шт.

4

4272960

* BUSHING

1шт.

5

208304

* RING

1шт.

6

K

* RING

1шт.

7

K

* PACKING;U-RING

1шт.

8

K

* RING;BACK-UP

1шт.

9

K

* RING;WIPER

1шт.

10

K

* O-RING

1шт.

11

K

* RING;BACK-UP

1шт.

12

409705

* BOLT;SOCKET

12шт.

13

409706

* BRG.;CUSHION

1шт.

14

K

* SEAL;CUSHION

1шт.

15

998903

* PISTON

1шт.

16

K

* RING;SEAL ASS'Y

1шт.

16A

D

** RING;SEAL

1шт.

16B

D

** O-RING

1шт.

17

K

* RING;BACK-UP

2шт.

18

998904

* RING;SLIDE

2шт.

19

261308

* RING;SLIDE

2шт.

20

309011

* SCREW;SET

1шт.

21

111707

* BALL;STEEL

1шт.

23

4067902

* SEAL;DUST

2шт.

25

4067901

* SEAL;DUST

2шт.

26

4669126

* PIPE

1шт.

27

4669118

* PIPE

1шт.

28

984614

* O-RING

1шт.

29

M341236

* BOLT;SOCKET

4шт.

30

4506430

* O-RING

1шт.

31

M341030

* BOLT;SOCKET

4шт.

32-38

1163901

* KIT;BAND

1шт.

32

4679686

** BAND

1шт.

33

686409

** BAND

1шт.

34

J901035

** BOLT

2шт.

35

A590910

** WASHER

2шт.

36

236915

** HOLDER

1шт.

37

4673616

** BOLT

1шт.

38

A590914

** WASHER;SPRING

1шт.

39

J75481

* FITTING;GREASE

1шт.

100

4661485

KIT;SEAL

1шт.

Выбрано товаров: 46